授权公布号:CN217735241U
一种钢制门框45度拼角的连接结构
有效
申请
2022-04-29
申请公布
1970-01-01
授权
2022-11-04
预估到期
2032-04-29
| 申请号 | CN202221023867.5 |
| 申请日 | 2022-04-29 |
| 授权公布号 | CN217735241U |
| 授权公告日 | 2022-11-04 |
| 分类号 | E06B1/52;E06B3/96 |
| 分类 | 一般门、窗、百叶窗或卷辊遮帘;梯子; |
| 申请人名称 | 宁波欧尼克科技有限公司 |
| 申请人地址 | 浙江省宁波市高新区晶源路78号 |
专利法律状态
2022-11-04
授权
状态信息
授权
摘要
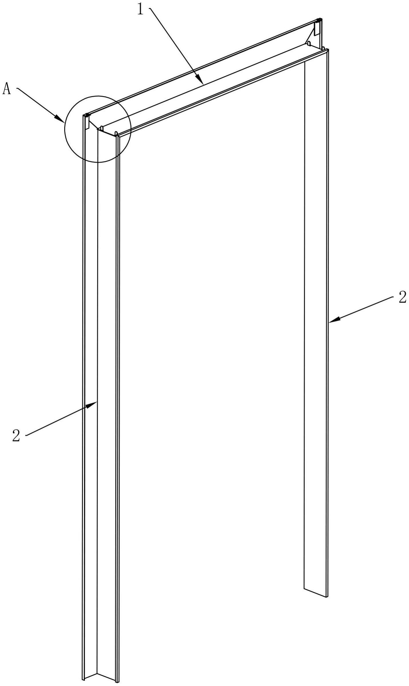
本实用新型公开一种钢制门框45度拼角的连接结构,包括:横档和竖档,所述横档的端部的一侧与所述竖档的端部的一侧通过凹凸结构限位配合,且通过至少一紧固件固定连接,所述横档的端部的另一侧设有至少一通口,所述竖档的端部的另一侧设有至少一折边,所述折边贯穿所述通口,且与所述横档卡接固定。本实用新型通过凹凸结构和折边的预先限位,安装后的竖档和横档面平整,拼角效果好,降低焊接工艺的难度,提高整体的牢固度。


