授权公布号:CN209129494U
一种平移门挂轮增强型防脱轨机构
有效
申请
2018-07-25
申请公布
1970-01-01
授权
2019-07-19
预估到期
2028-07-25
| 申请号 | CN201821192364.4 |
| 申请日 | 2018-07-25 |
| 授权公布号 | CN209129494U |
| 授权公告日 | 2019-07-19 |
| 分类号 | E05D13/00;E05D15/06;E06B3/46 |
| 分类 | 锁;钥匙;门窗零件;保险箱; |
| 申请人名称 | 盖泽工业(天津)有限公司 |
| 申请人地址 | 天津市北辰区新技术产业园区北辰科技工业园 |
专利法律状态
2019-11-19
专利权人的姓名或者名称、地址的变更
状态信息
专利权人的姓名或者名称、地址的变更IPC(主分类):E05D 13/00变更前 专利权人:盖泽工业(天津)有限公司 地址:300400 天津市北辰区新技术产业园区北辰科技工业园变更后 专利权人:盖泽工业(天津)有限公司 地址:300400 天津市北辰经济开发区双辰中路16号
2019-07-19
授权
状态信息
授权
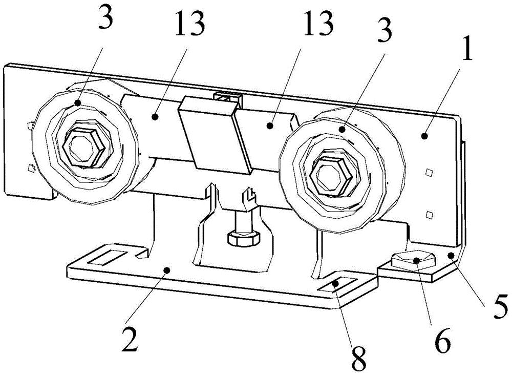
摘要
本实用新型提供了一种平移门挂轮增强型防脱轨机构,包括滚轮架、吊挂板和防脱装置,滚轮架的一侧设置有滚轮,吊挂板和防脱装置固定设置在滚轮架的下端,吊挂板的下端与门扇固定连接,且吊挂板与滚轮架的相对高度可调节,防脱装置包括连接板和塑料垫,塑料垫位于连接板上,防脱轨机构与导轨配合时,滚轮位于导轨的轨道上面,塑料垫间隔位于导轨的轨道下面,门扇受冲击或挤压时,塑料垫与导轨的轨道下面接触。滚轮架用于固定滚轮、吊挂板和毛刷。吊挂板用于连接和吊挂门扇。本实用新型通过滚轮和塑料垫配合,有效阻止门扇脱轨;防脱装置通过滚轮架上设置的螺栓孔进行连接,安装后不需要调节就处于正确的位置,避免了调节不正确而发生脱轨的风险。


