授权公布号:CN219730246U
扶梯的远程停梯装置和扶梯系统
有效
申请
2023-04-13
申请公布
1970-01-01
授权
2023-09-22
预估到期
2033-04-13
| 申请号 | CN202320825902.3 |
| 申请日 | 2023-04-13 |
| 授权公布号 | CN219730246U |
| 授权公告日 | 2023-09-22 |
| 分类号 | B66B29/00;B66B27/00 |
| 分类 | 卷扬;提升;牵引; |
| 申请人名称 | 迅达(中国)电梯有限公司 |
| 申请人地址 | 上海市嘉定区兴顺路555号 |
专利法律状态
2023-09-22
授权
状态信息
授权
摘要
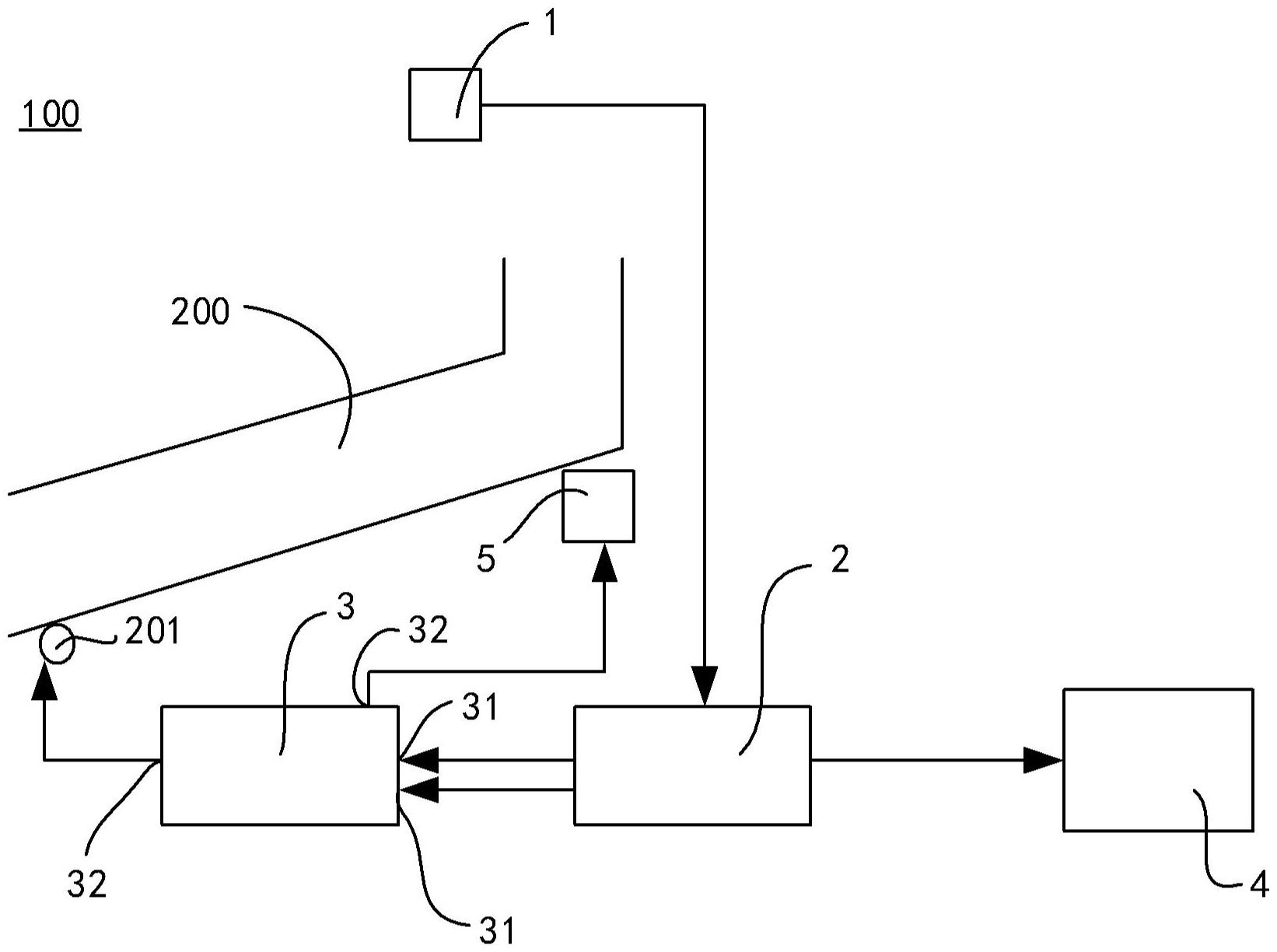
本实用新型提供了一种扶梯的远程停梯装置和扶梯系统,远程停梯装置通过在扶梯处设置摄像头,拍摄扶梯运行时的场景信息;将服务器与摄像头通讯连接,摄像头即可将场景信息传输至服务器,服务器识别场景信息中的危险信息,并根据危险信息生成停梯命令;将电路板与服务器通讯连接,服务器即可将停梯命令发送至电路板,电路板与继电器通讯连接,电路板根据停梯命令控制继电器断开,继电器接入扶梯的安全回路中,继电器断开时,扶梯的安全回路断开,由此实现在危险状况下的停梯。本实用新型的远程停梯装置结构简单,无需额外的布线和安装,使用成本和安装成本较低。


