授权公布号:CN219173984U
用于电梯的钢丝绳张力监控系统
有效
申请
2023-01-10
申请公布
1970-01-01
授权
2023-06-13
预估到期
2033-01-10
| 申请号 | CN202320066460.9 |
| 申请日 | 2023-01-10 |
| 授权公布号 | CN219173984U |
| 授权公告日 | 2023-06-13 |
| 分类号 | B66B7/12 |
| 分类 | 卷扬;提升;牵引; |
| 申请人名称 | 迅达(中国)电梯有限公司 |
| 申请人地址 | 上海市嘉定区兴顺路555号 |
专利法律状态
2023-06-13
授权
状态信息
授权
摘要
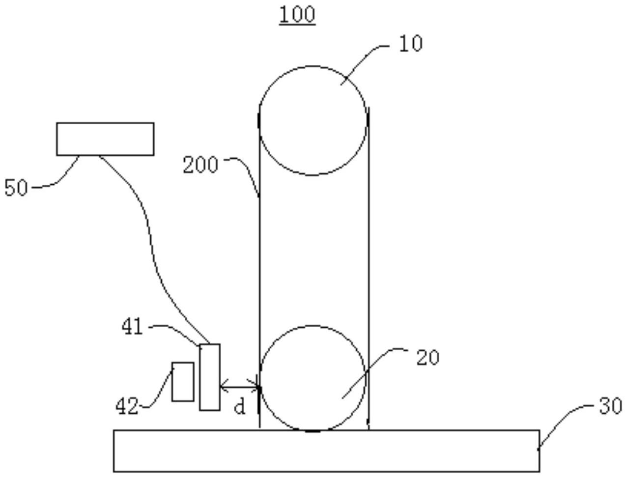
本申请公开了一种用于电梯的钢丝绳张力监控系统,包括设置在轿厢的顶部轿顶反绳轮机构和曳引机构,轿顶反绳轮机构包括:反绳固定架和固定在反绳固定架上的反绳轮,反绳轮上缠绕有多根钢丝绳;钢丝绳张力监控装置,钢丝绳张力监控装置包括钢丝绳频率采样组件和信号处理器,钢丝绳频率采样组件设置在轿顶反绳轮机构的旁边的任一采样点,每根钢丝绳至少对应一个采样点,钢丝绳频率采样组件与信号处理器通讯连接,钢丝绳频率采样组件能够产生第一磁场,钢丝绳被钢丝绳频率采样组件的永磁体磁化后产生第二磁场,在钢丝绳被卷入或卷出反绳轮时,第二磁场选择性地靠近或远离钢丝绳频率采样组件,以使第二磁场影响第一磁场内的磁通量生成感应电流。


