授权公布号:CN215364413U
一种电梯曳引机固定装置
有效
申请
2021-02-19
申请公布
1970-01-01
授权
2021-12-31
预估到期
2031-02-19
| 申请号 | CN202120386551.1 |
| 申请日 | 2021-02-19 |
| 授权公布号 | CN215364413U |
| 授权公告日 | 2021-12-31 |
| 分类号 | B66B11/04 |
| 分类 | 卷扬;提升;牵引; |
| 申请人名称 | 华升富士达电梯有限公司 |
| 申请人地址 | 河北省廊坊市经济技术开发区春明道7号 |
专利法律状态
2021-12-31
授权
状态信息
授权
摘要
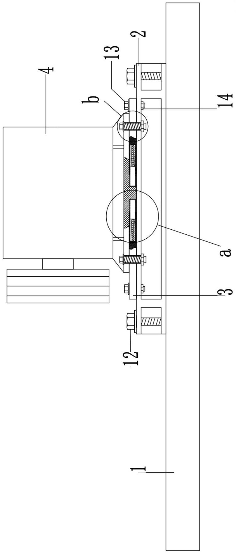
本实用新型公开了一种电梯曳引机固定装置,包括承重梁、支撑钢板、固定板以及曳引机,所述支撑钢板固定安装在承重梁上方,所述固定板固定安装在支撑钢板上方,所述曳引机安装在固定板上方,所述曳引机和固定板设有辅助固定结构;所述辅助固定结构,包括:空腔、一对弹簧、一对限位卡块、凸块以及一对限位卡槽;涉及电梯曳引机固定装置的技术领域,本实用新型旨在解决现有的电梯曳引机都是通过螺栓之间进行连接,不具备限位连接的功能,使得螺栓连接的时候,螺纹孔无法对其,从而加大固定的难度,降低安装的效率的问题。


