授权公布号:CN217577892U
一种检测悬挂装置异常伸长的装置
有效
申请
2022-06-17
申请公布
1970-01-01
授权
2022-10-14
预估到期
2032-06-17
| 申请号 | CN202221525362.9 |
| 申请日 | 2022-06-17 |
| 授权公布号 | CN217577892U |
| 授权公告日 | 2022-10-14 |
| 分类号 | B66B5/02 |
| 分类 | 卷扬;提升;牵引; |
| 申请人名称 | 浙江梅轮电梯股份有限公司 |
| 申请人地址 | 浙江省绍兴市柯桥区齐贤街道齐陶路888号 |
专利法律状态
2022-10-14
授权
状态信息
授权
摘要
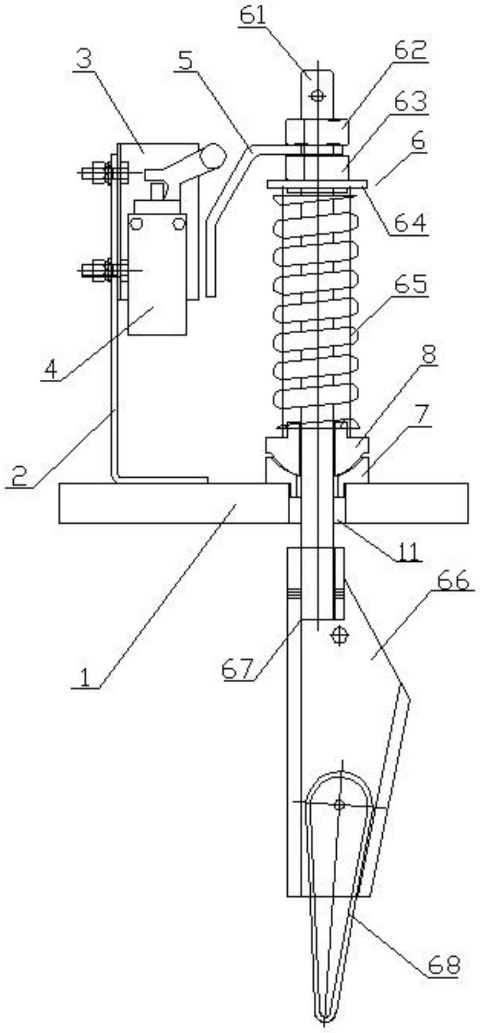
本实用新型公开了一种检测悬挂装置异常伸长的装置,包括绳头板、多个行程开关及与每个行程开关配套的撞板、绳头组合,绳头板安装有底板,底板安装有行程开关,绳头组合包括拉杆,绳头板设有通孔二,拉杆穿过通孔二并连接有楔块,楔块下端设有绳套,绳套连接悬挂装置,拉杆套有弹簧、垫块、托块,弹簧上端贴合垫块,弹簧下端贴合托块,垫块和托块将弹簧压缩,绳头组合上端安装有撞板,撞板在弹簧弹力变化时会产生上下方向的位移,撞板上移会触发行程开关。本实用新型中,每个行程开关对应控制一个悬挂装置,当某个悬挂装置出现异常伸长,压缩状态的弹簧将伸长并带动拉杆上移使撞板触发行程开关,电梯运行系统可快速定位故障位置,便于故障处理。


