授权公布号:CN215807630U
一种用于摄像的组合减震架
有效
申请
2021-09-22
申请公布
1970-01-01
授权
2022-02-11
预估到期
2031-09-22
| 申请号 | CN202122293215.5 |
| 申请日 | 2021-09-22 |
| 授权公布号 | CN215807630U |
| 授权公告日 | 2022-02-11 |
| 分类号 | F16M11/32;F16M11/42;F16M11/04;F16M11/08;F16M11/18;F16F15/08 |
| 分类 | 工程元件或部件;为产生和保持机器或设备的有效运行的一般措施;一般绝热; |
| 申请人名称 | 北京光线传媒股份有限公司 |
| 申请人地址 | 北京市东城区和平里东街11号航星科技园3号楼3层 |
专利法律状态
2022-02-11
授权
状态信息
授权
摘要
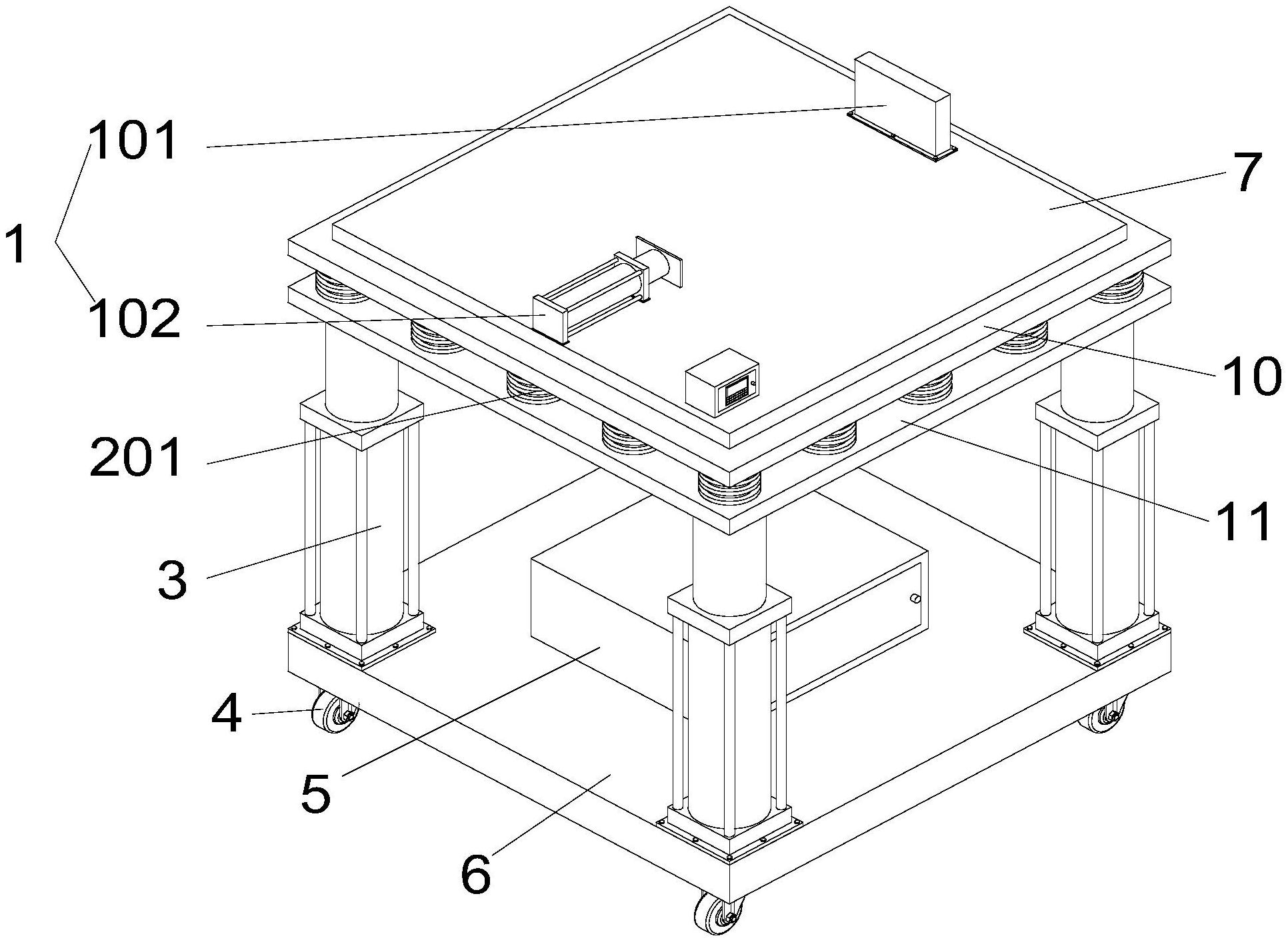
本实用新型涉及摄像辅助设备技术领域,尤其为一种用于摄像的组合减震架,包括水平设置的底板、缓冲板以及转盘,所底板得底部四个拐角处均固定安装有万向轮,所述底板的顶部中心处固定安装有安装箱,所述安装箱的内部底壁固定安装有蓄电池,所述底板的顶部四个拐角处均固定安装有竖直设置的第一电动伸缩杆,所述第一电动伸缩杆的顶部固定安装有安装板,所述安装板的顶部设置有缓冲装置,所述安装板的底部靠近中心处固定安装有电机架,所述电机架的内部底壁固定安装有旋转电机,所述旋转电机的输出端固定连接有旋转轴,所述缓冲板的顶部设置有稳定装置,所述转盘的顶部设置有夹紧装置,能够避免震动力对摄影装置的影响,避免影响拍摄效果。


