授权公布号:CN217577904U
一种限制随行电缆摆动距离的装置
有效
申请
2022-06-17
申请公布
1970-01-01
授权
2022-10-14
预估到期
2032-06-17
| 申请号 | CN202221526399.3 |
| 申请日 | 2022-06-17 |
| 授权公布号 | CN217577904U |
| 授权公告日 | 2022-10-14 |
| 分类号 | B66B7/00 |
| 分类 | 卷扬;提升;牵引; |
| 申请人名称 | 浙江梅轮电梯股份有限公司 |
| 申请人地址 | 浙江省绍兴市柯桥区齐贤街道齐陶路888号 |
专利法律状态
2022-10-14
授权
状态信息
授权
摘要
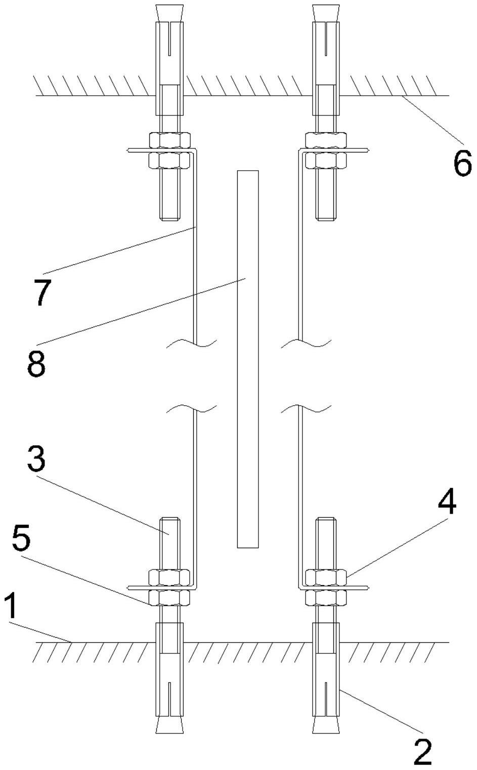
本实用新型公开一种限制随行电缆摆动距离的装置,包括底坑地面、顶层楼面、两根钢丝绳、随行电缆、控制柜和轿厢,所述随行电缆一端连接在控制柜,所述随行电缆的另一端连接在轿厢,两根所述钢丝绳相互平行设置,所述控制柜与轿厢相对设置在钢丝绳的两侧,所述控制柜与轿厢同两根钢丝绳呈十字分布,所述随行电缆穿过两根钢丝绳之间。只需将钢丝绳的两端分别固定安装在底坑地面和顶层楼面上,进而通过在随行电缆两侧设置的钢丝绳,有效限制了随行电缆左右摆动的距离,在有限的空间中保证随行电缆不会和井道内的其它部件发生干涉,安装快捷,简单可靠。


