授权公布号:CN218809778U
一种曳引机用编码器连接结构
有效
申请
2022-10-27
申请公布
1970-01-01
授权
2023-04-07
预估到期
2032-10-27
| 申请号 | CN202222844644.1 |
| 申请日 | 2022-10-27 |
| 授权公布号 | CN218809778U |
| 授权公告日 | 2023-04-07 |
| 分类号 | B66B11/04 |
| 分类 | 卷扬;提升;牵引; |
| 申请人名称 | 永大电梯设备(中国)有限公司 |
| 申请人地址 | 上海市松江区九新公路99号 |
专利法律状态
2023-04-07
授权
状态信息
授权
摘要
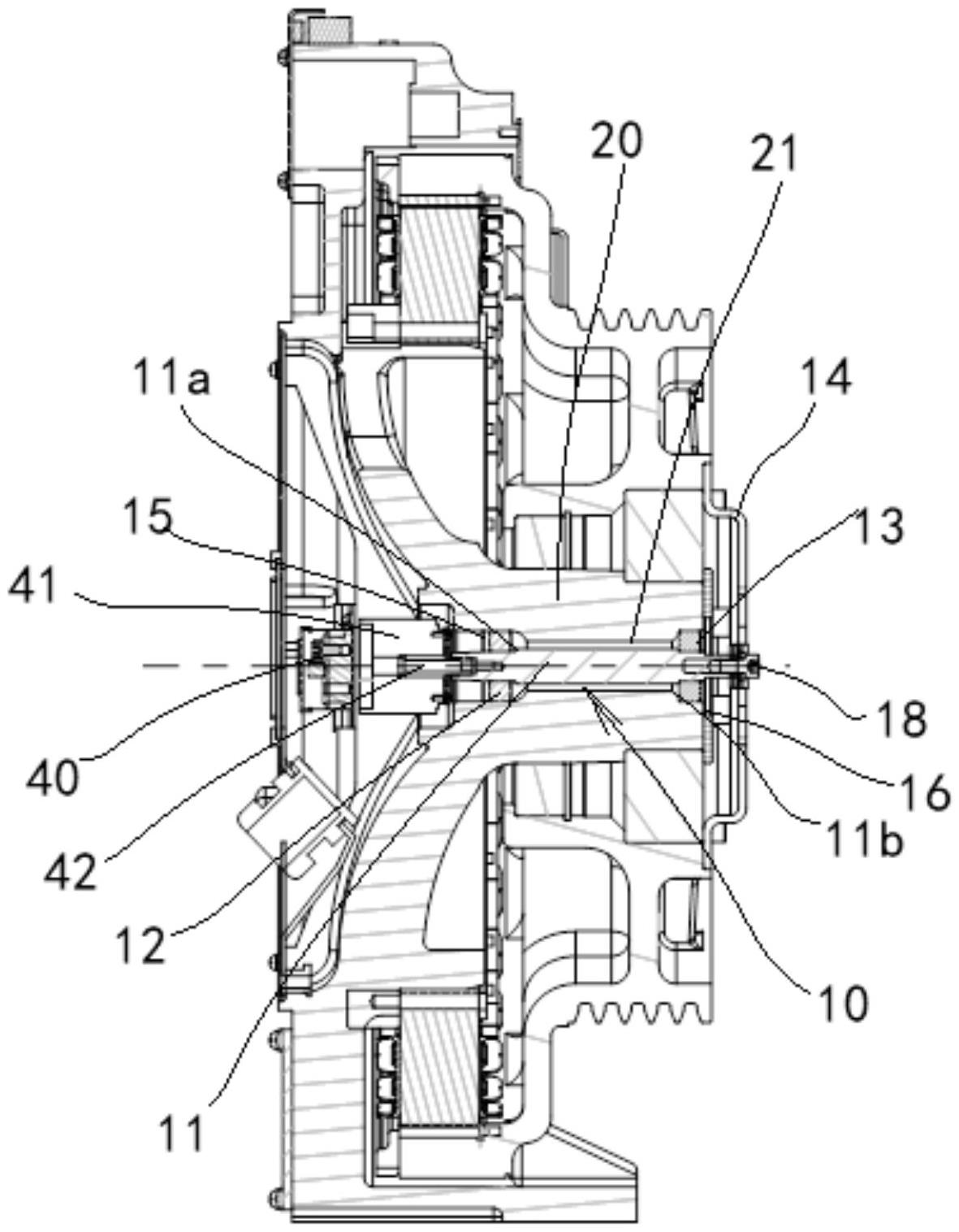
本实用新型公开的一种曳引机用编码器连接结构,包括一连接装置,所述连接装置转动支撑在所述曳引机的壳体的壳体孔内,所述曳引机用编码器设置在所述壳体的后端,其中曳引机用编码器的固定部分固定在所述壳体上,活动部分与所述连接装置的后端连接,所述连接装置的前端与所述曳引机的转子连接。本实用新型用于曳引机用编码器,有效解决了曳引机用编码器安装在中空轴内部影响承载力的难点。同时解决了连接装置与转子同心度导致的振动和偏转堆运动传递准确性的影响。


