授权公布号:CN218909496U
一种应用于电梯门滑块磨损检测装置
有效
申请
2023-01-09
申请公布
1970-01-01
授权
2023-04-25
预估到期
2033-01-09
| 申请号 | CN202320053284.5 |
| 申请日 | 2023-01-09 |
| 授权公布号 | CN218909496U |
| 授权公告日 | 2023-04-25 |
| 分类号 | B66B5/00;G01M13/00 |
| 分类 | 卷扬;提升;牵引; |
| 申请人名称 | 永大电梯设备(中国)有限公司 |
| 申请人地址 | 上海市松江区九新公路99号 |
专利法律状态
2023-04-25
授权
状态信息
授权
摘要
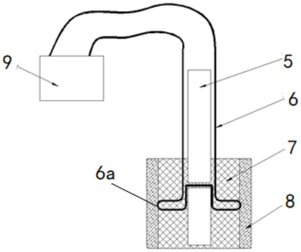
本实用新公开的一种应用于电梯门滑块磨损检测装置,包括门滑块,其特征在于,还包括埋设在所述门滑块的橡胶材料中并至少有一部分嵌入到所述门滑块的耐磨材料中的检测元件和与所述检测元件连接的检测器;平时所述检测元件回路导通,在所述检测元件被磨断后形成开路,检测器报警需要更换门滑块。利用本实用新型,通过门滑块中的检测元件磨断,检测器检出检测元件回路断路,即可预警更换门滑块,解决了电梯应用中对门滑块需人为定期检查判定更换的技术问题,并具有结构简单,成本低的优点。


