授权公布号:CN218579393U
一种低阻力的电梯门导向系统
有效
申请
2022-10-31
申请公布
1970-01-01
授权
2023-03-07
预估到期
2032-10-31
| 申请号 | CN202222883093.X |
| 申请日 | 2022-10-31 |
| 授权公布号 | CN218579393U |
| 授权公告日 | 2023-03-07 |
| 分类号 | B66B13/08;B66B13/14;B66B13/30 |
| 分类 | 卷扬;提升;牵引; |
| 申请人名称 | 永大电梯设备(中国)有限公司 |
| 申请人地址 | 上海市松江区九新公路99号 |
专利法律状态
2023-03-07
授权
状态信息
授权
摘要
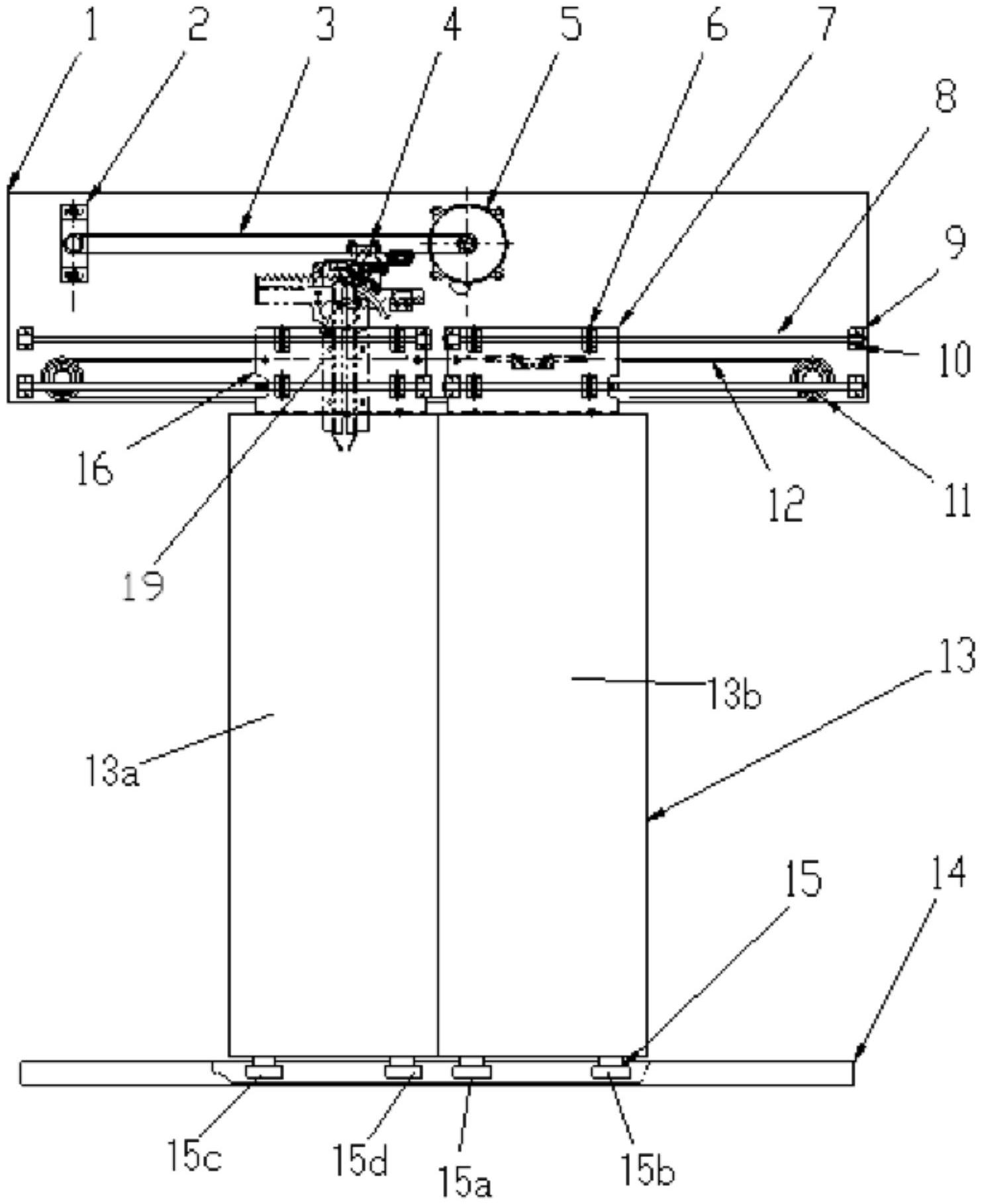
本实用新型公开了一种低阻力的电梯门导向系统,包括:在门机底板上设置有直线导轨支座,在直线导轨支座上活动设置有直线导轨;在直线导轨上设置有直线轴承;在直线轴承上设置有第一门挂板和第二门挂板;在第一门挂板或第二门挂板上设置有门刀装置;门刀装置与同步带结构相连;门板包括处于同一平面两侧的第一子门板和第二子门板;在第一门挂板下安装有第一子门板;在第二门挂板下安装有第二子门板;在第一子门板或第二子门板的下端均设置有磁导靴,磁导靴在带磁条的地坎内滑动与直线轴承的运动进行配合来开关第一子门板和第二子门板。本实用新型的低阻力的电梯门导向系统提升了电梯开关门的运行品质,避免了塑胶累部件的老化问题,可以减少维修保养的人力成本和部件成本。


