授权公布号:CN218633178U
一种电梯天井线路安全防护装置
有效
申请
2022-11-09
申请公布
1970-01-01
授权
2023-03-14
预估到期
2032-11-09
| 申请号 | CN202222980618.1 |
| 申请日 | 2022-11-09 |
| 授权公布号 | CN218633178U |
| 授权公告日 | 2023-03-14 |
| 分类号 | H02G3/04;H02G3/30 |
| 分类 | 发电、变电或配电; |
| 申请人名称 | 永大电梯设备(中国)有限公司 |
| 申请人地址 | 上海市松江区九新公路99号 |
专利法律状态
2023-03-14
授权
状态信息
授权
摘要
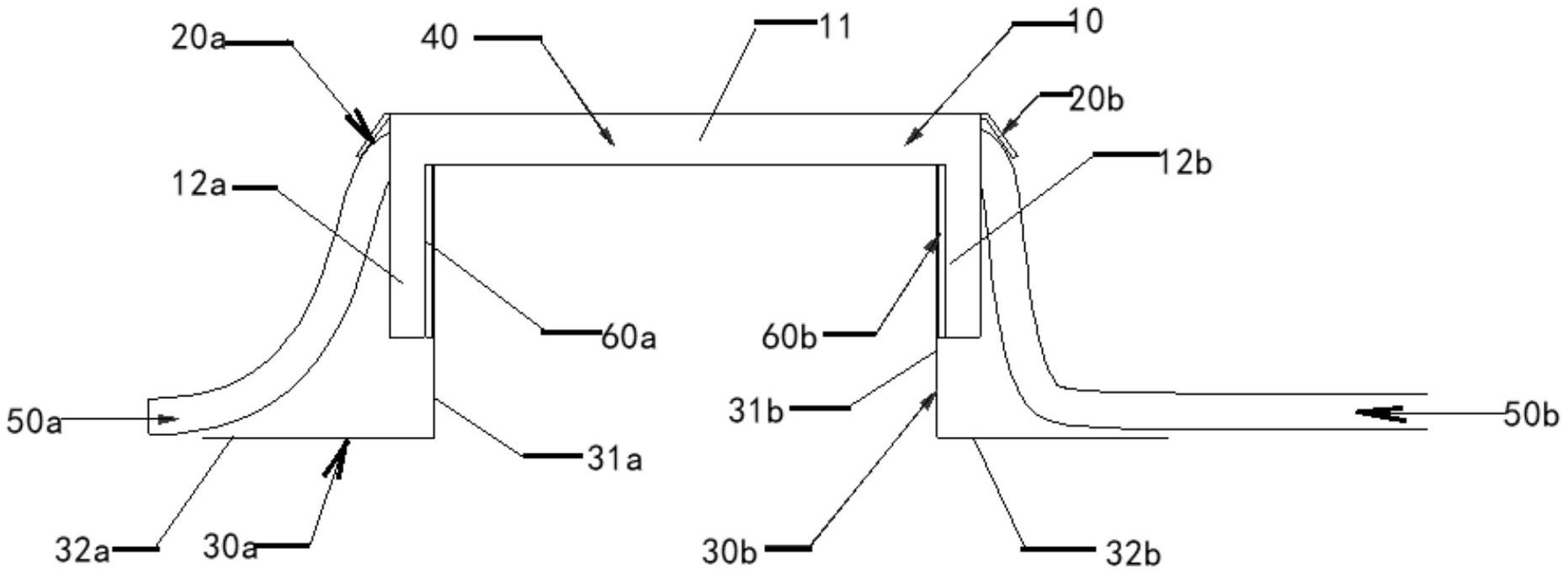
本实用新型公开的一种电梯天井线路安全防护装置,其特征在于,包括一高强度绝缘外壳,在所述高强度绝缘外壳内设置有可集成线路电气接口并在所述高强度绝缘外壳内设置有线路引导结构,所述线路引导结构对称布置在所述可集成线路电气接口相对的两侧;一侧的电线从所述高强度绝缘外壳内的一侧的线路引导结构进入所述高强度绝缘外壳内,另一侧电线从所述高强度绝缘外壳内的另一侧的线路引导结构延伸所述高强度绝缘外壳。本实用新型的接线高强度绝缘外壳,其内的线路引导结构可以将电线进行导向,引导电线向上和向下疏导,将布线提升到一个维度,可以根据实际情况对线路进行优化,极大的便利了线路设计。


