授权公布号:CN220537271U
一种滚动式层门重锤组件
有效
申请
2023-08-15
申请公布
1970-01-01
授权
2024-02-27
预估到期
2033-08-15
| 申请号 | CN202322190711.7 |
| 申请日 | 2023-08-15 |
| 授权公布号 | CN220537271U |
| 授权公告日 | 2024-02-27 |
| 分类号 | B66B13/14;B66B13/30 |
| 分类 | 卷扬;提升;牵引; |
| 申请人名称 | 永大电梯设备(中国)有限公司 |
| 申请人地址 | 上海市松江区九新公路99号 |
专利法律状态
2024-02-27
授权
状态信息
授权
摘要
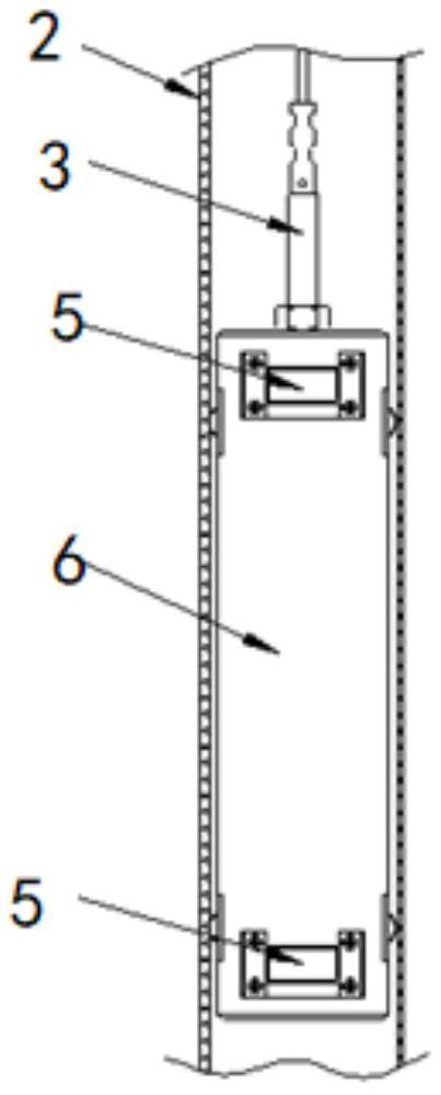
本实用新型公开的一种滚动式层门重锤组件,包括导管和滚动式层门重锤,所述滚动式层门重锤通过牵引钢丝绳带动在所述导管内上下运动,其特征在于,所述滚动式层门重锤包括重锤本体和设置在所述重锤本体的外表面上的至少一组滚轮部件,所述滚轮部件中的滚轮在所述导管的内表面上滚动。本实用新型是一种在导管中滚动运行的重锤,应用解决层门重锤在运行中因导管与重锤间隙过大,或因重锤导向块磨损导致的间隙过大而产生的噪音或因杂质引起的卡滞无法自闭带来人员跌落井道的风险。


