授权公布号:CN218408264U
电磁铁装置及电梯
有效
申请
2022-10-25
申请公布
1970-01-01
授权
2023-01-31
预估到期
2032-10-25
| 申请号 | CN202222814934.1 |
| 申请日 | 2022-10-25 |
| 授权公布号 | CN218408264U |
| 授权公告日 | 2023-01-31 |
| 分类号 | F16D65/14;F16D49/16;B66D5/30;B66D5/08;F16D121/20N;F16D125/68N |
| 分类 | 工程元件或部件;为产生和保持机器或设备的有效运行的一般措施;一般绝热; |
| 申请人名称 | 蒂升电梯(上海)有限公司 |
| 申请人地址 | 上海市松江区松江工业区佘山分区勋业路2号 |
专利法律状态
2023-01-31
授权
状态信息
授权
摘要
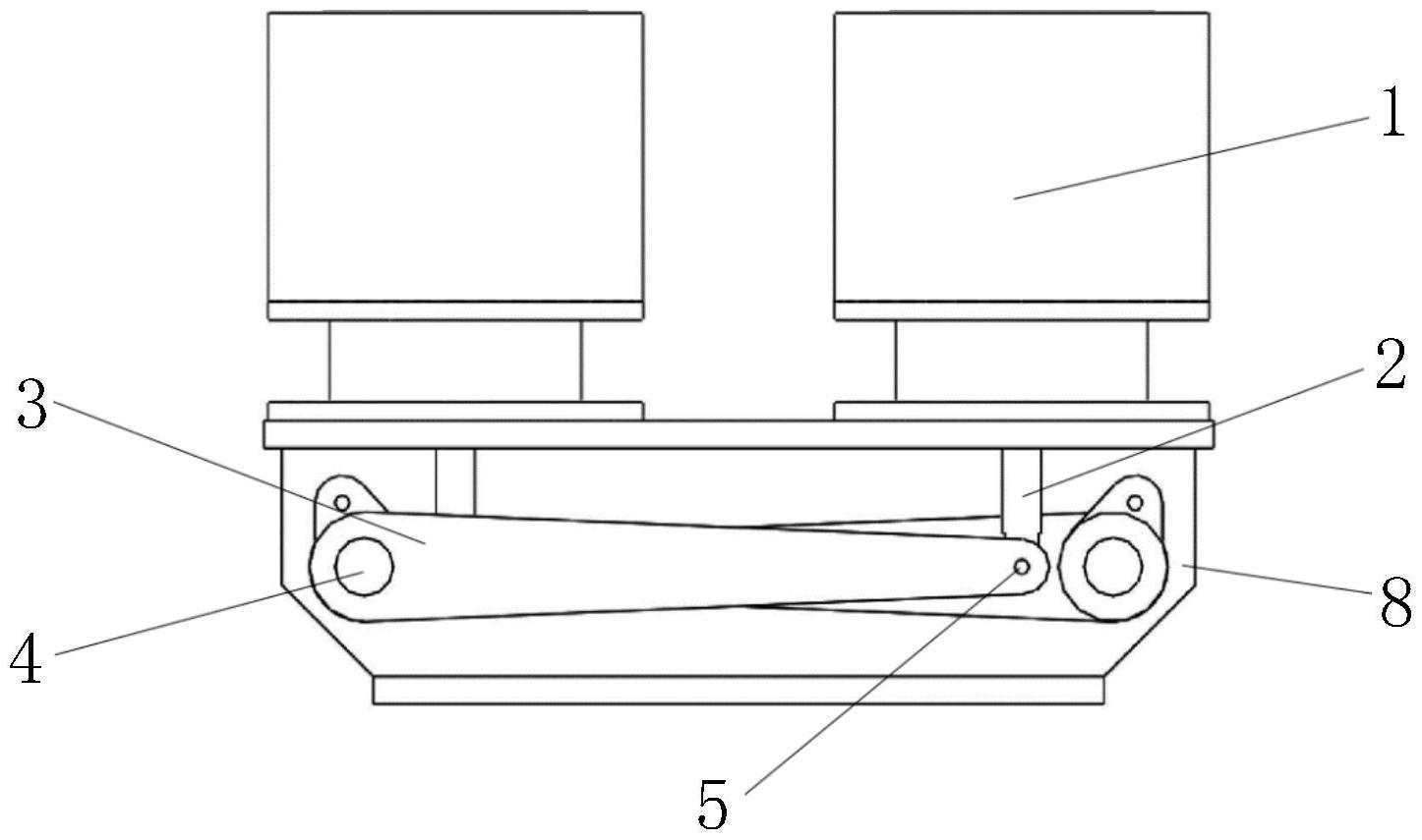
本实用新型涉及一种电磁铁装置及电梯,其包括:底座、至少两个电磁铁致动组件以及至少两个传动组件,至少两个电磁铁致动组件包括推杆并且分别安装至所述底座,每个电磁铁致动组件配置为在通电时使所述推杆沿第一方向移动,至少两个传动组件安装至所述底座,每个传动组件的第一端部分与相应的一个电磁铁致动组件的推杆的第一端部分铰接,每个传动组件的第二端部分与待驱动的组件接触,每个传动组件配置为基于推杆的移动使所述待驱动的组件沿第二方向移动,所述第二方向不同于所述第一方向。


