授权公布号:CN112967431B
一种用于智慧社区的人员和车辆门禁系统
有效
申请
2021-01-20
申请公布
2021-06-15
授权
2022-08-16
预估到期
2041-01-20
| 申请号 | CN202110071938.2 |
| 申请日 | 2021-01-20 |
| 申请公布号 | CN112967431A |
| 申请公布日 | 2021-06-15 |
| 授权公布号 | CN112967431B |
| 授权公告日 | 2022-08-16 |
| 分类号 | G07C9/10;G07C9/37;G07C9/20 |
| 分类 | 核算装置; |
| 申请人名称 | 青岛文达通科技股份有限公司 |
| 申请人地址 | 山东省青岛市黄岛区望江路500号 |
专利法律状态
2022-08-16
授权
状态信息
授权
2021-06-15
公布
状态信息
公布
摘要
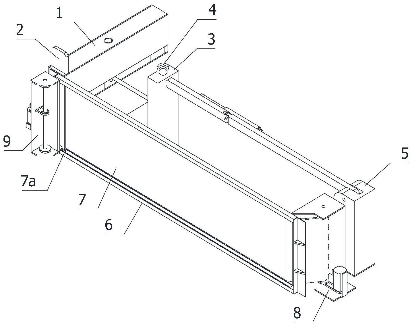
本发明涉及社区安全门禁设备技术领域,具体是涉及一种用于智慧社区的人员和车辆门禁系统,包括:行人通行机构:人脸识别模块,设置于行人通行机构上;分隔柱,设置于行人通行机构的一侧,车牌识别模块和车辆通行机构,车辆通行机构设置于分隔柱的一侧,并且车辆通行机构远离行人通行机构,引导门框,横跨行人通行机构和车辆通行机构设置;横向卷闸门,横向卷闸门的上下两端分别设置有滚轮,横向卷闸门通过滚轮与其滑动连接,解封收卷机构,设置于车辆通行机构的旁侧,封禁收卷机构,设置于行人通行机构的旁侧,本技术方案可以对人员和车辆进行分流、放行和拦截,并且还可以在紧急的必要时刻进行封锁任务。


