授权公布号:CN214681142U
一种乳胶漆生产用锚式搅拌结构
有效
申请
2021-01-20
申请公布
1970-01-01
授权
2021-11-12
预估到期
2031-01-20
| 申请号 | CN202120155995.4 |
| 申请日 | 2021-01-20 |
| 授权公布号 | CN214681142U |
| 授权公告日 | 2021-11-12 |
| 分类号 | B01F7/16;B01F7/00;B01F15/00;B01F13/00 |
| 分类 | 一般的物理或化学的方法或装置; |
| 申请人名称 | 福建初日涂料科技有限公司 |
| 申请人地址 | 福建省莆田市涵江区白塘镇镇前村 |
专利法律状态
2021-11-12
授权
状态信息
授权
摘要
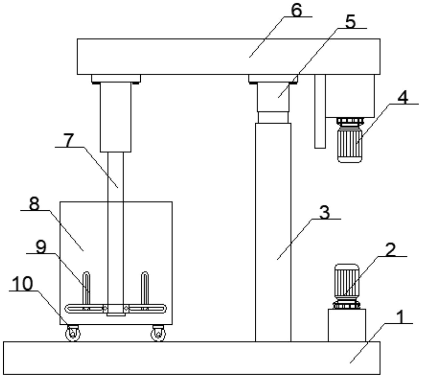
本实用新型公开一种乳胶漆生产用锚式搅拌结构,包括支撑底座和升降电机,所述支撑底座的上端安装有升降电机,所述升降电机的左侧设置有支撑套杆,所述支撑套杆的上端设置有液压内杆,所述液压内杆的上端设置有传动箱,所述传动箱的右侧下端设置有旋转电机,所述传动箱的左侧下端设置有转动轴,所述转动轴的下端外部设置有混合搅拌装置,所述混合搅拌装置包括搅拌叶、搅拌杆、固定座、环形套和固定套,所述环形套的外部设置有固定座,所述固定座的内部设置有搅拌杆,调整搅拌叶在搅拌杆上的位置和高度,使用螺丝进行固定后可以直接进行搅拌,从而使得搅拌装置能够适应更多不同大小的搅拌桶,从而避免需要经常性的更换搅拌叶片。


