授权公布号:CN215631359U
一种内墙乳胶漆施工用滚刷装置
有效
申请
2021-12-13
申请公布
1970-01-01
授权
2022-01-25
预估到期
2031-12-13
| 申请号 | CN202120156024.1 |
| 申请日 | 2021-12-13 |
| 授权公布号 | CN215631359U |
| 授权公告日 | 2022-01-25 |
| 分类号 | E04F21/06 |
| 分类 | 建筑物; |
| 申请人名称 | 福建初日涂料科技有限公司 |
| 申请人地址 | 福建省莆田市涵江区白塘镇镇前村 |
专利法律状态
2022-01-25
授权
状态信息
授权
摘要
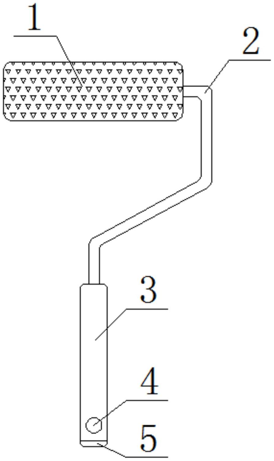
本实用新型公开一种内墙乳胶漆施工用滚刷装置,包括滚刷毛和套接筒,所述滚刷毛的内部位置处设置有套接筒,所述固定圆孔的内部位置处套接有固定杆,固定杆设置有不锈钢连接杆、弹簧卡扣和固定螺栓,不锈钢连接杆与固定螺栓焊接在一起,且不锈钢连接杆通过固定螺栓与防滑手柄进行固定连接,不锈钢连接杆的上端设置有弹簧卡扣,且不锈钢连接杆通过弹簧卡扣与套接筒进行固定连接,套接筒的内部设置有固定圆孔,这样工作人员就可以进行粉刷工作,当工作人员需要更换滚刷毛时,将不锈钢连接杆拆卸下来即可,拆卸时往外侧拉动套筒,使得弹簧卡扣脱离滑槽,最后再将不锈钢连接杆从固定圆孔的内部位置处拿出即可拆卸成功。


