授权公布号:CN214389792U
一种乳胶漆生产用三叶桨式搅拌结构
有效
申请
2021-01-20
申请公布
1970-01-01
授权
2021-10-15
预估到期
2031-01-20
| 申请号 | CN202120155996.9 |
| 申请日 | 2021-01-20 |
| 授权公布号 | CN214389792U |
| 授权公告日 | 2021-10-15 |
| 分类号 | B01F7/18;B01F7/00 |
| 分类 | 一般的物理或化学的方法或装置; |
| 申请人名称 | 福建初日涂料科技有限公司 |
| 申请人地址 | 福建省莆田市涵江区白塘镇镇前村 |
专利法律状态
2021-10-15
授权
状态信息
授权
摘要
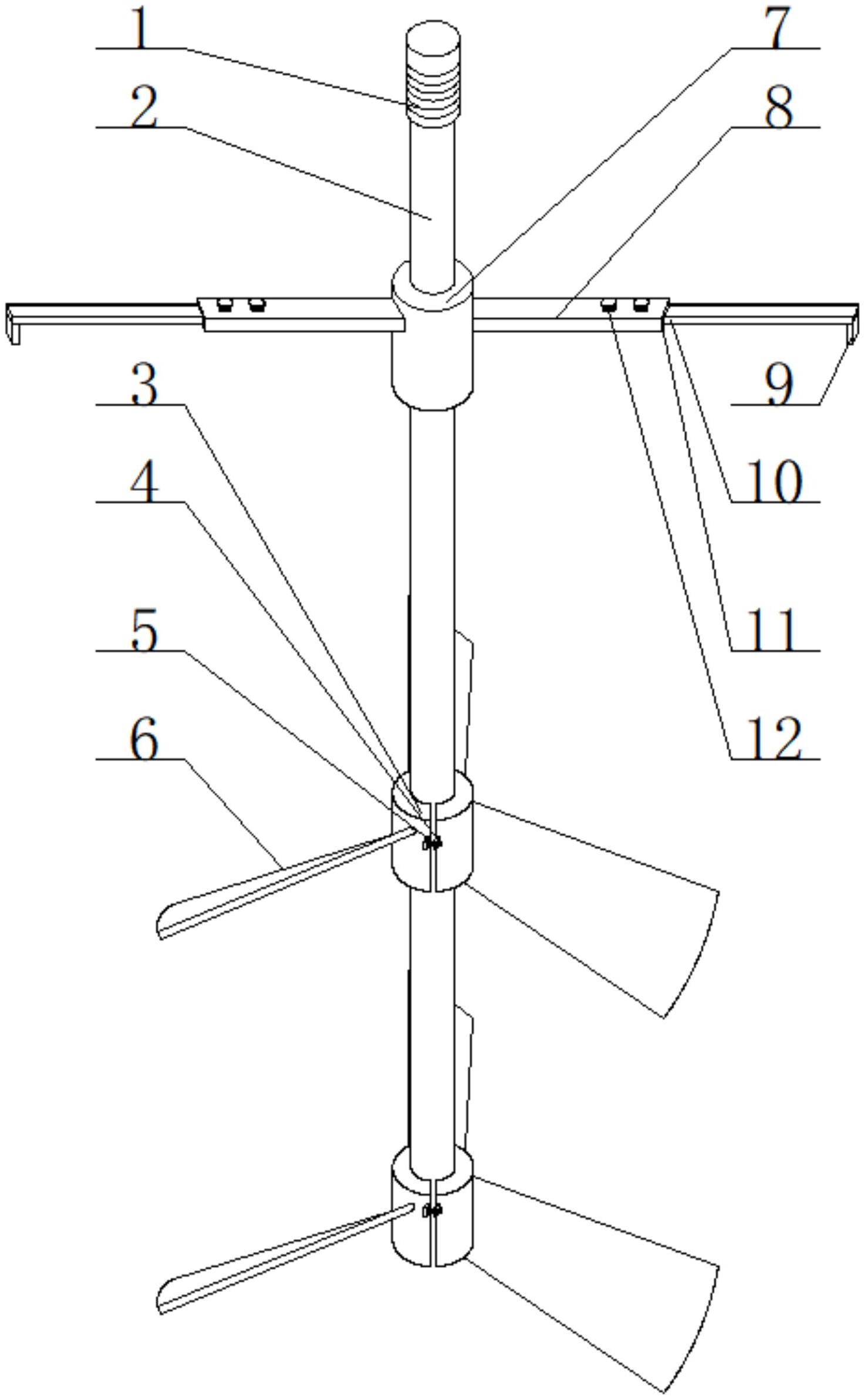
本实用新型公开一种乳胶漆生产用三叶桨式搅拌结构,包括搅拌杆接头和主杆,所述搅拌杆接头底端设置有主杆,在主杆上设置有活动固定环,将固定块上的固定螺栓拧下,使得活动固定环可以在主杆表面自由滑动,根据乳胶漆的深度,更换两个活动环的位置,使得活动环上的桨叶可以放置在乳胶漆合适的部位,可以充分地对乳胶漆经进行充分搅拌,主杆的上方的固定柱两侧设置两个主臂,主臂内部设置伸缩臂的顶端设置有抓钩,调整伸缩臂的长度,使得伸缩臂顶端的抓钩固定在乳胶漆桶的边沿,然后拧紧限位螺栓,使得搅拌的过程更加稳固,新型乳胶漆三叶桨式搅拌结构搅拌更加的均匀,同时更加的稳固,且搅拌后简单拆卸清洗更加方便。


