授权公布号:CN216792052U
用于物品表面缺陷检测的物料传送装置
有效
申请
2021-12-27
申请公布
1970-01-01
授权
2022-06-21
预估到期
2031-12-27
| 申请号 | CN202123331032.4 |
| 申请日 | 2021-12-27 |
| 授权公布号 | CN216792052U |
| 授权公告日 | 2022-06-21 |
| 分类号 | G01N21/88;G01N21/01;G01V8/10 |
| 分类 | 测量;测试; |
| 申请人名称 | 威海北洋电气集团股份有限公司 |
| 申请人地址 | 山东省威海市火炬高技术产业开发区火炬路 |
专利法律状态
2022-06-21
授权
状态信息
授权
摘要
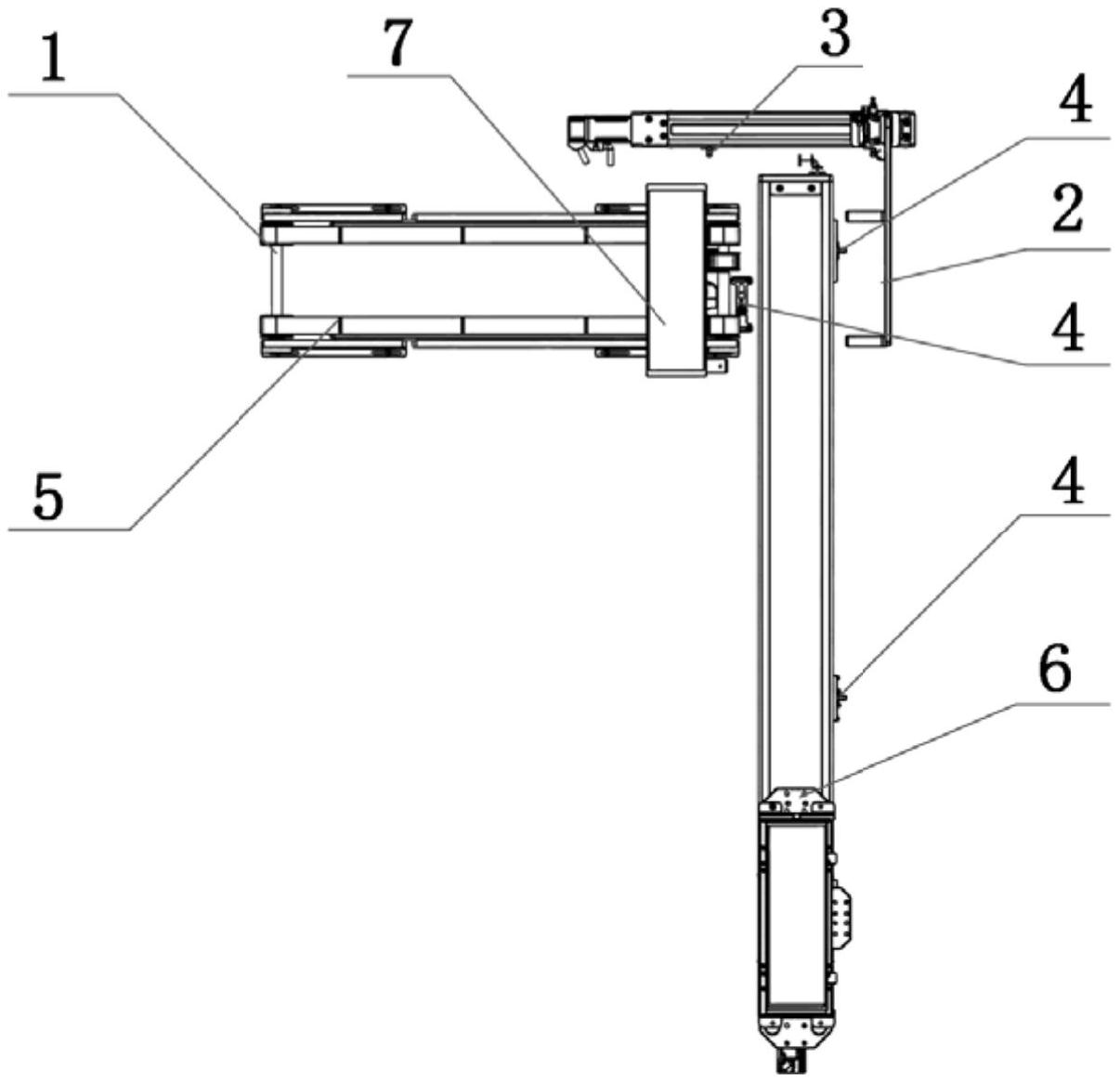
本实用新型涉及一种传送装置,具体的说是一种能够实现产品自不同生产工序自动、连续、稳定的传送衔接的用于物品表面缺陷检测的物料传送装置,所述中转机构中设有料叉、料叉升降机构、料叉底座、直线滑台,所述料叉升降机构固定在料叉下方,料叉升降机构下端与料叉底座固定连接,料叉底座与直线滑台的螺母座固定连接,所述料叉底座上还设有侧立板,侧立板对应料叉运动最低点和最高点分别设有位置传感器,与现有技术相比,能够满足薄板状待检测物料的多检测工序的连续检测,多组传送机构与中转机构衔接流畅,结构合理、占空间小,可显著提高工作效率。


