授权公布号:CN214973656U
一种自动配胶装置
有效
申请
2021-06-09
申请公布
1970-01-01
授权
2021-12-03
预估到期
2031-06-09
| 申请号 | CN202121292857.7 |
| 申请日 | 2021-06-09 |
| 授权公布号 | CN214973656U |
| 授权公告日 | 2021-12-03 |
| 分类号 | B01F13/10;B01F15/00;B01F15/02 |
| 分类 | 一般的物理或化学的方法或装置; |
| 申请人名称 | 江苏佳饰家新材料集团股份有限公司 |
| 申请人地址 | 江苏省常州市武进区横林镇卫星村南孟路26号 |
专利法律状态
2021-12-03
授权
状态信息
授权
摘要
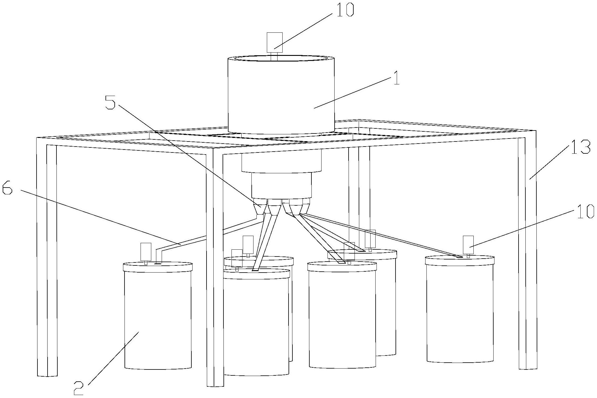
一种自动配胶装置,包括一次配胶罐和二次配胶罐,所述一次配胶罐设置于二次配胶罐的上方,所述一次配胶罐的内部设有挡板,所述挡板将一次配胶罐分为六个注胶室,所述一次配胶罐的下方设置有六个出胶口;所述二次配胶罐设置有六个,所述出胶口分别与二次配胶罐通过连接管连接;本实用新型所述的自动配胶装置,将一次配胶罐分隔成六个注胶室,可以一次抽取六种胶剂,并且下方连接六个二次配胶罐,通过出胶口将胶剂分别送入下方配胶罐中进行配胶,同时通过挡板的转动带动注胶室转动,从而变换注胶室的位置,达到调配不同胶剂的目的,并且所需的场地变小,减少了成本。


