授权公布号:CN215970268U
一种热固性树脂层积板真空压贴装置
有效
申请
2021-09-17
申请公布
1970-01-01
授权
2022-03-08
预估到期
2031-09-17
| 申请号 | CN202122265079.9 |
| 申请日 | 2021-09-17 |
| 授权公布号 | CN215970268U |
| 授权公告日 | 2022-03-08 |
| 分类号 | B30B15/00;B32B37/10;B32B38/00 |
| 分类 | 压力机; |
| 申请人名称 | 江苏佳饰家新材料集团股份有限公司 |
| 申请人地址 | 江苏省常州市武进区横林镇卫星村南孟路26号 |
专利法律状态
2022-03-08
授权
状态信息
授权
摘要
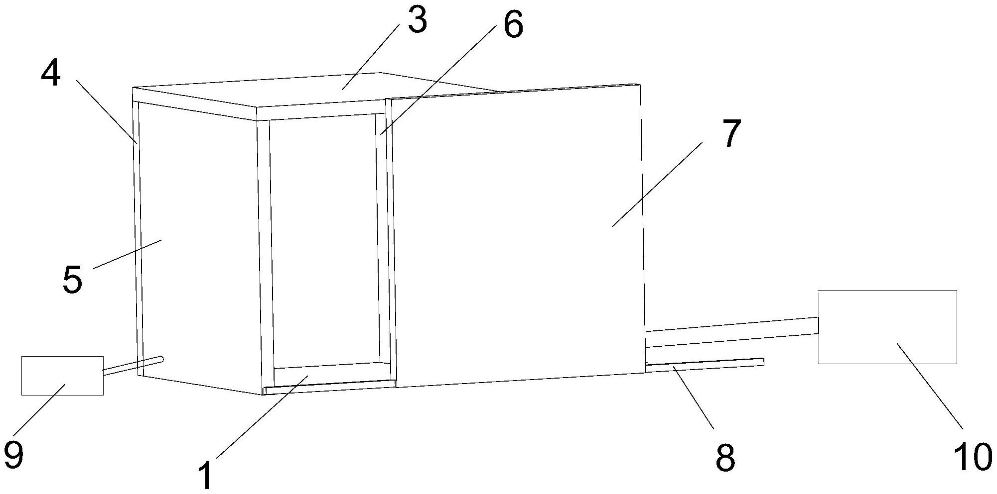
一种热固性树脂层积板真空压贴装置,包括真空室和压机;所述压机设置于真空室内,所述真空室由上墙板,后墙板,左墙板以及右墙板组成,所述后墙板的对面设有门体,所述门体的下方设有轨道;本实用新型所述的热固性树脂层积板真空压贴装置,通过将压机设置于真空室内,对真空室进行抽真空,从而防止了压贴时树脂层积板之间产生气泡,增大了树脂层积板的密度,同时在抽真空时抽掉了一部分的有害气体,降低了树脂层积板的VOC排放量。


