授权公布号:CN111729559B
一种绿色印刷型油墨生产设备
有效
申请
2020-07-05
申请公布
2020-10-02
授权
2022-04-01
预估到期
2040-07-05
| 申请号 | CN202010637650.2 |
| 申请日 | 2020-07-05 |
| 申请公布号 | CN111729559A |
| 申请公布日 | 2020-10-02 |
| 授权公布号 | CN111729559B |
| 授权公告日 | 2022-04-01 |
| 分类号 | B01F27/83;B01F25/50;B01F27/90;B01F35/30;B01F101/35N |
| 分类 | 一般的物理或化学的方法或装置; |
| 申请人名称 | 江苏佳饰家新材料集团股份有限公司 |
| 申请人地址 | 江苏省常州市武进区横林镇卫星村南孟路26号 |
专利法律状态
2022-04-01
授权
状态信息
授权
2020-10-02
公布
状态信息
公布
摘要
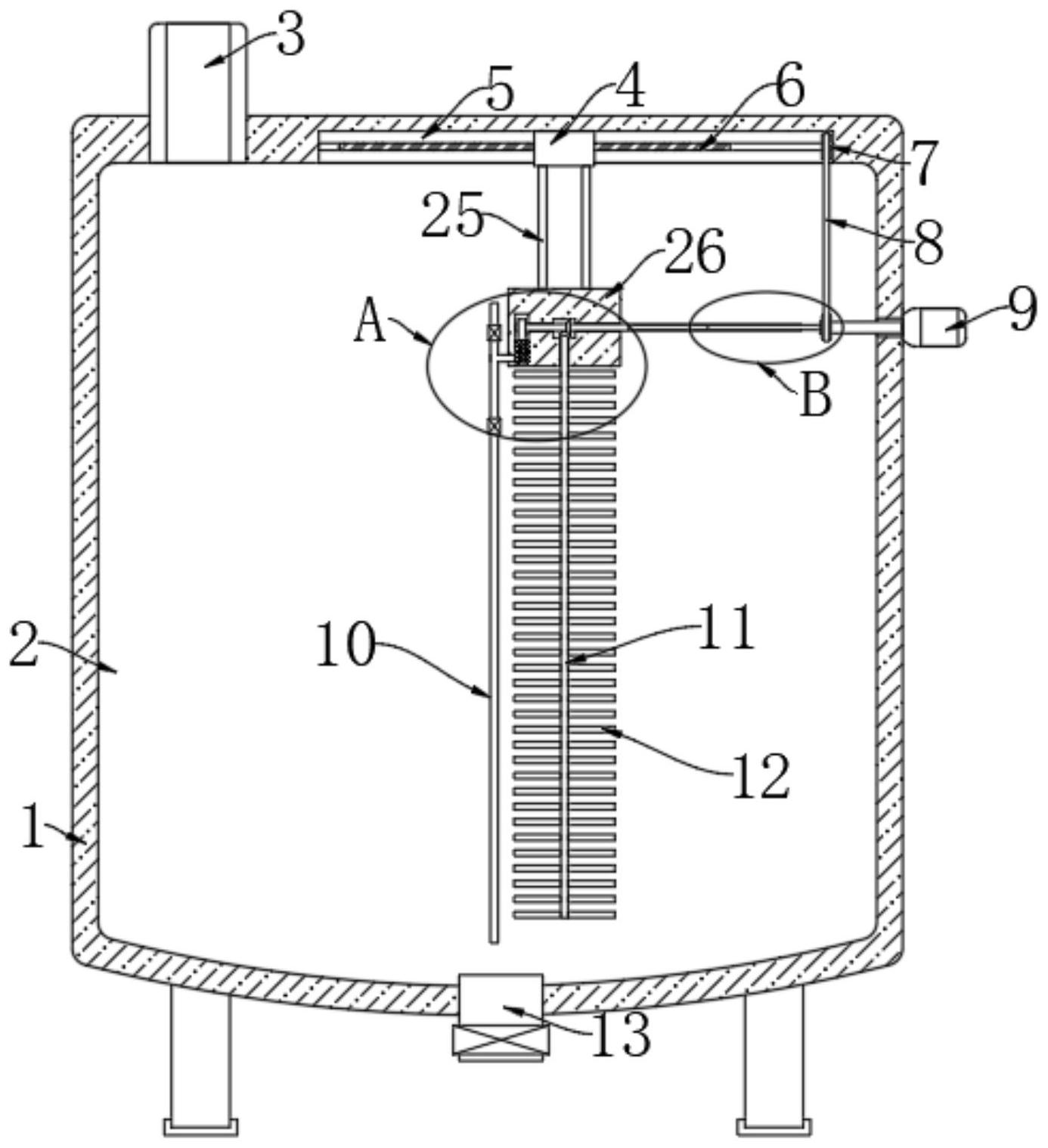
本发明公开了一种绿色印刷型油墨生产设备,包括壳体,所述壳体内设有处理室,所述处理室的内顶部设有进液口,所述处理室的内底部设有出液口,所述出液口内安装有阀门,所述处理室的内顶部开设有滑槽,所述处理室内设有安装块,所述滑槽内设有用于移动安装块的移动机构,所述安装块内设有竖腔和方形腔,所述竖腔位于方形腔的左侧,所述安装块的下端转动连接有搅拌轴,所述搅拌轴上设有多个用于搅拌的搅拌叶,所述方形腔内设有传动机构,所述竖腔内设有辅助搅拌的辅助机构。该设备在使用的过程中,搅拌结构一直处于一个移动的状态,可以增加搅拌的总体效率,同时在搅拌时可以将下层的油墨吸入到上层,使得混合的效果更好。


