授权公布号:CN210395743U
一种具有隔音功能的玻璃墙
有效
申请
2019-04-29
申请公布
1970-01-01
授权
2020-04-24
预估到期
2029-04-29
| 申请号 | CN201920603641.4 |
| 申请日 | 2019-04-29 |
| 授权公布号 | CN210395743U |
| 授权公告日 | 2020-04-24 |
| 分类号 | E04B2/72;E04B1/82 |
| 分类 | 建筑物; |
| 申请人名称 | 中山市庚美特种玻璃科技有限公司 |
| 申请人地址 | 广东省中山市神湾镇神湾大道中(水利所北侧) |
专利法律状态
2020-04-24
授权
状态信息
授权
摘要
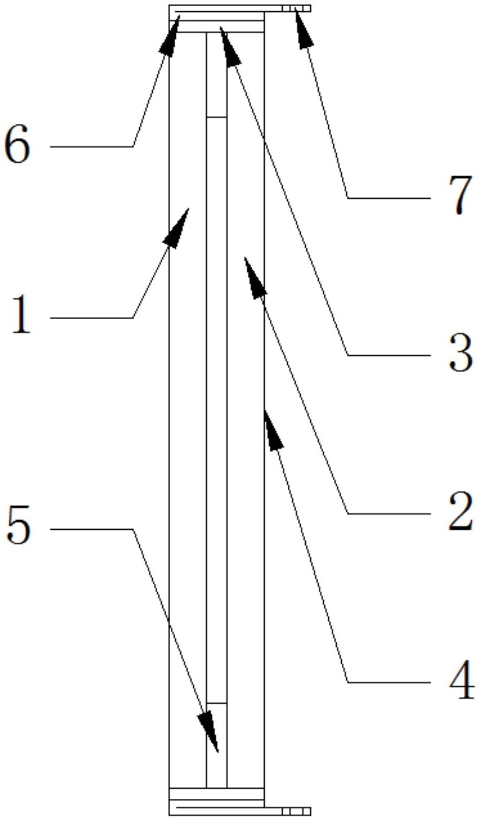
本实用新型公开一种具有隔音功能的玻璃墙,包括一号玻璃、二号玻璃,一号玻璃、二号玻璃四边通过胶接连在一起,一号玻璃、二号玻璃之间形成中空;一号玻璃的四个侧边、二号玻璃的四个侧边设有隔音胶条,隔音胶条同时与一号玻璃的四个侧边、二号玻璃的四个侧边形成胶接。所述隔音胶条外设有离型膜,离型膜叠放在隔音胶条上并伸出,离型膜的伸出部位端设有拉环。所述一号玻璃、二号玻璃的胶接处之间设有弹性橡胶,弹性橡胶为口字形,一号玻璃、二号玻璃分别与弹性橡胶两侧胶接。本实用新型使用多种隔音措施,结构简单,隔音效果明显;设有带拉环的离型膜,方便安装。


