授权公布号:CN217304154U
一种涂膜干燥色差测试装置
有效
申请
2022-04-22
申请公布
1970-01-01
授权
2022-08-26
预估到期
2032-04-22
| 申请号 | CN202220943975.8 |
| 申请日 | 2022-04-22 |
| 授权公布号 | CN217304154U |
| 授权公告日 | 2022-08-26 |
| 分类号 | G01J3/46;G01J3/02 |
| 分类 | 测量;测试; |
| 申请人名称 | 固克节能科技股份有限公司 |
| 申请人地址 | 福建省厦门市同安区莲花镇莲美三路136号 |
专利法律状态
2022-08-26
授权
状态信息
授权
摘要
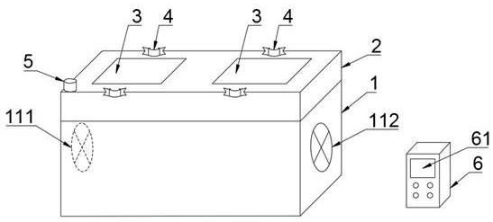
本实用新型公开了一种涂膜干燥色差测试装置,包括温度调节盒、电加热板以及测试基板,所述温度调节盒包括风机以及顶部具有开口的箱体,所述箱体的侧壁面上开设有内外贯通的进风口与出风口,所述风机与所述进风口或者出风口相互连通,所述电加热板固定设置在箱体顶部并盖住箱体顶部开口,所述测试基板设置在电加热板顶部。本实用新型通过电加热板辐射加热配合风机通风降温对测试温度进行调节,测试时涂膜在测试基板顶端面上,涂膜的里层温度接近所调节的测试温度,表层温度接近室温,相比于恒温热风对流干燥的方式更接近实际的干燥条件,测试出来的结果误差较小,较为准确。


