授权公布号:CN212300597U
一种液态花岗岩涂料基料用对色板
有效
申请
2020-06-17
申请公布
1970-01-01
授权
2021-01-05
预估到期
2030-06-17
| 申请号 | CN202021130154.X |
| 申请日 | 2020-06-17 |
| 授权公布号 | CN212300597U |
| 授权公告日 | 2021-01-05 |
| 分类号 | G01J3/52 |
| 分类 | 测量;测试; |
| 申请人名称 | 固克节能科技股份有限公司 |
| 申请人地址 | 福建省厦门市同安区莲花镇莲美三路136号 |
专利法律状态
2021-01-05
授权
状态信息
授权
摘要
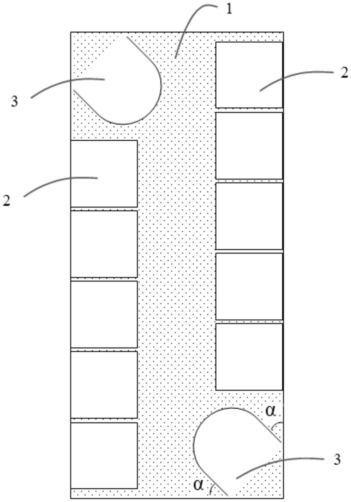
本实用新型公开了一种液态花岗岩涂料基料用对色板,属于建筑涂料对色工具领域,一种液态花岗岩涂料基料用对色板,包括板体,板体的至少一面开设有多个料槽,料槽位于板体边缘处,料槽所在面的板体上开设有至少一个供手指放入按压的凹槽,凹槽位于板体的边角处且与料槽互不干涉。本实用新型的液态花岗岩涂料基料用对色板,使用方便、对色效率高。


