授权公布号:CN218553735U
一种防腐涂料生产用稀释装置
有效
申请
2022-11-21
申请公布
1970-01-01
授权
2023-03-03
预估到期
2032-11-21
| 申请号 | CN202223081740.1 |
| 申请日 | 2022-11-21 |
| 授权公布号 | CN218553735U |
| 授权公告日 | 2023-03-03 |
| 分类号 | B01F27/70;B01F27/191;B01F35/71;B01F101/30N |
| 分类 | 一般的物理或化学的方法或装置; |
| 申请人名称 | 长沙民德消防工程涂料有限公司 |
| 申请人地址 | 湖南省长沙市宁乡县金玉乡镇工业集中区玉石路东68号 |
专利法律状态
2023-03-03
授权
状态信息
授权
摘要
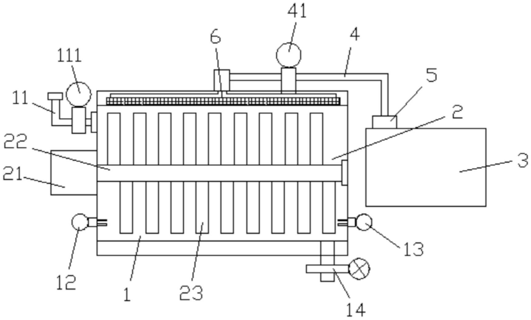
本实用新型公开了一种防腐涂料生产用稀释装置,该防腐涂料生产用稀释装置主要由:搅拌箱、混合器、稀释箱、导管以及雾化板组合而成,所述混合器设置在所述搅拌箱内,所述稀释箱置于所述搅拌箱的一侧并通过所述导管与所述搅拌箱连通,所述雾化板置于所述搅拌箱的内顶部并与所述导管的出口端连接;本实用新型的防腐涂料生产用稀释装置结构简单,在现有的装置上作出改进,将稀释剂的进料口改为雾化板,稀释剂雾化后更为均匀的进入搅拌箱内部并进料铺满涂料液面,避免了左、右两端混合不均匀的情况,混合器横向设置纵向搅拌,避免了上、下混合不均匀的情况,并且设置浓度与粘稠度检测器,确保涂料产品处于最有状态,提升产品品质。


