授权公布号:CN114632435B
一种高闪点溶剂的制备装置、方法及其应用
有效
申请
2022-03-21
申请公布
2022-06-17
授权
2023-02-28
预估到期
2042-03-21
| 申请号 | CN202210280821.X |
| 申请日 | 2022-03-21 |
| 申请公布号 | CN114632435A |
| 申请公布日 | 2022-06-17 |
| 授权公布号 | CN114632435B |
| 授权公告日 | 2023-02-28 |
| 分类号 | B01F25/00;B01F35/71;B01F35/80;G01N25/52;B01F101/23N |
| 分类 | 一般的物理或化学的方法或装置; |
| 申请人名称 | 江苏冠军科技集团股份有限公司 |
| 申请人地址 | 江苏省南京市溧水区洪蓝镇工业园 |
专利法律状态
2023-02-28
授权
状态信息
授权
2022-06-17
公布
状态信息
公布
摘要
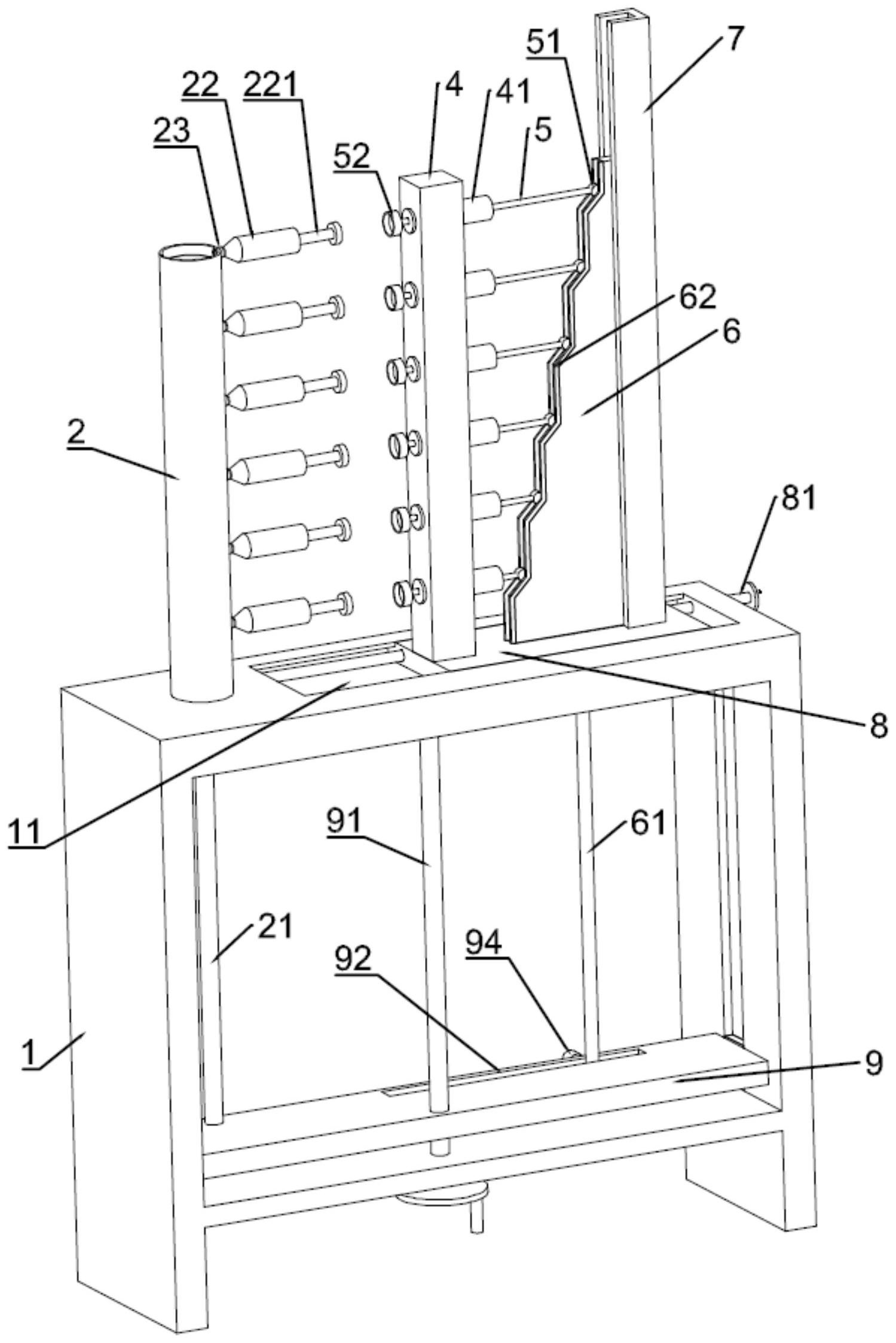
本发明公开了一种高闪点溶剂的制备装置、方法及其应用,涉及高闪点涂料制备技术领域,包括步骤(A)采用高闪点溶剂的制备装置配制出若干不同配比的闪点测试样品;(B)将样品1,2,3……N逐个涡旋振荡后依次放入闭口闪点测试仪中测定混合溶剂的闪点,以溶剂一或溶剂二的体积分数为横坐标,闪点值为纵坐标绘制曲线;(C)从曲线中筛选斜率最大处作为混合溶剂的最佳配比,按照最佳配比混合配制高闪点溶剂。本发明通过高闪点溶剂的制备装置可以快速连续的进行多个配比梯度样品的制备,不要人工反复称量配制,且出样时按照递增梯度顺序进行,不会出现错漏。同时高闪点溶剂的制备全过程处于全封闭环境中,不易挥发引起危险,安全性好。


