授权公布号:CN100417501C
一种硅酸钙隔热防火板的制法及装置
有效
申请
2002-09-24
申请公布
2003-05-28
授权
2021-03-09
预估到期
2022-09-24
| 申请号 | CN02131017.3 |
| 申请日 | 2002-09-24 |
| 申请公布号 | CN1420003A |
| 申请公布日 | 2003-05-28 |
| 授权公布号 | CN100417501C |
| 授权公告日 | 2021-03-09 |
| 分类号 | B28B3/00;B28B11/00;C09K21/02 |
| 分类 | 加工水泥、黏土或石料; |
| 申请人名称 | 莱州明发隔热材料有限公司 |
| 申请人地址 | 山东省莱州市银磊东路 |
专利法律状态
2021-03-09
授权
状态信息
授权
2013-11-13
专利权的终止
状态信息
未缴年费专利权终止;IPC(主分类):B28B3/00;申请日:20020924;授权公告日:20080910;终止日期:20120924
2009-05-06
专利申请权、专利权的转移(专利权的转移)
状态信息
专利申请权、专利权的转移(专利权的转移);变更项目:专利权人;变更前权利人:莱州祥云防火隔热材料有限公司 ;地址: 山东省莱州市银磊东路 邮编: 261400;变更后权利人:莱州明发隔热材料有限公司 ;地址: 山东省莱州市银磊东路 邮编: 261400;登记生效日:2009.3.27
2008-11-26
地址不明的通知
状态信息
地址不明的通知;收件人:于祥旭;文件名称:发明专利证书
2008-09-10
发明专利权授予
状态信息
授权
2005-11-30
实质审查的生效
状态信息
实质审查的生效
2005-10-12
地址不明的通知
状态信息
<收件人>于祥旭</收件人>;<文件名称>期限届满前通知书</文件名称>
2003-05-28
发明专利申请公布
状态信息
公布
摘要
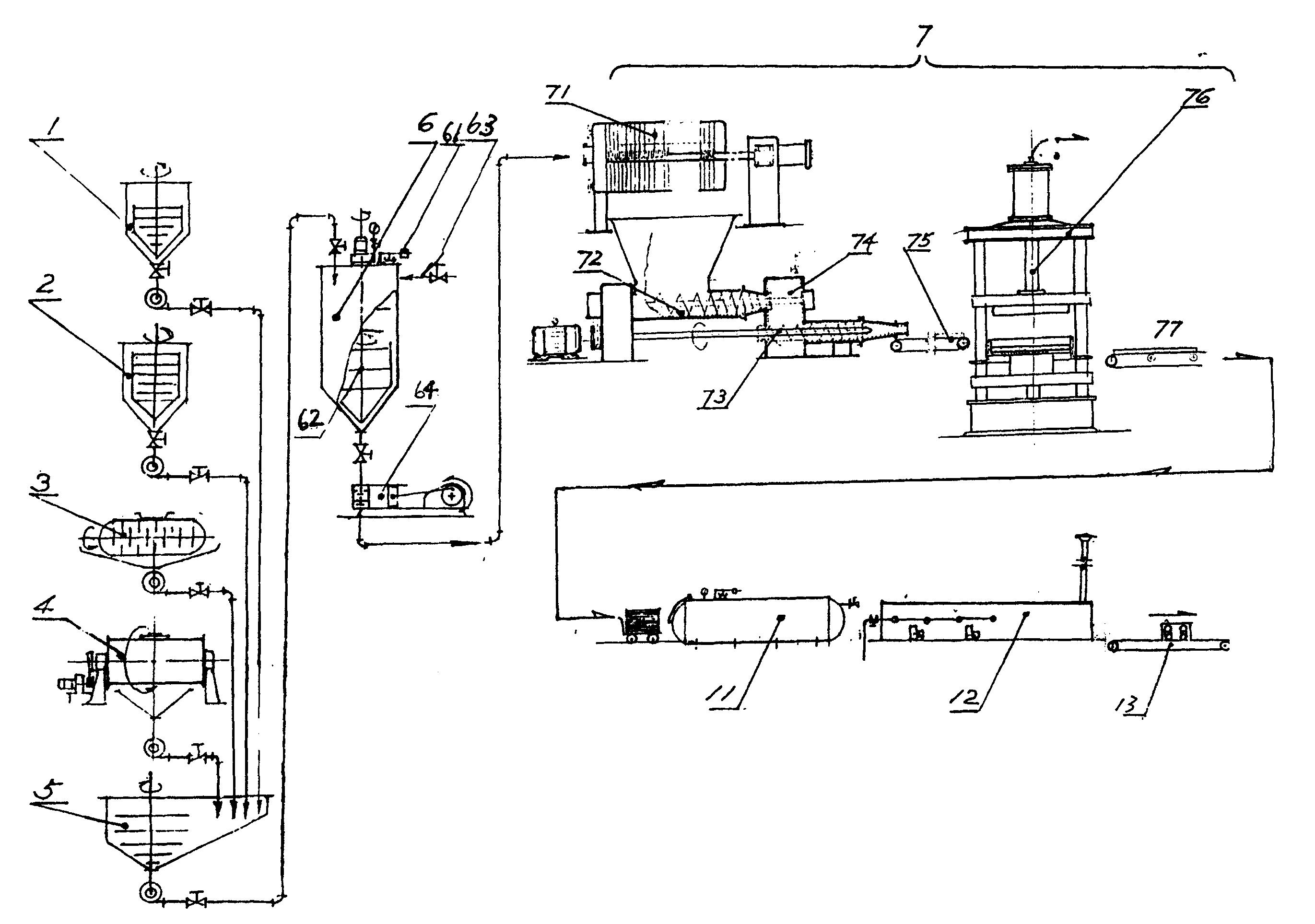
本发明为一种硅酸钙隔热防火板的制法及装置,其要点是按要求制备料浆在胶化罐中80℃-140℃保持3-30小时,进行胶化反应,反应时要不断搅拌,将反应所得料浆输入制板机,制成板材,再将板材进行蒸养、干燥、切磨加工为成品。制板方法和设备有4种,第1种用压滤混练加压成型装置;第2种为压滤混练挤出成型装置;第3种为网箱抄取吸滤成型装置;第4种为板坯滚压汲滤成型及吸送机组装置,根据硅酸钙隔热防火板的用途不同,采用四种制板装置和利用这四种装置的制板方法,用本发明的方法和装置制得的硅酸钙隔热防火板用作建筑防火板,如钢结构的包覆材料,防火风管,防火烟道及防火电缆槽,工业窑炉的隔热保温,有色冶金行业导流槽、流咀等。


