授权公布号:CN210971731U
地板打包用翻转模块
有效
申请
2019-11-28
申请公布
1970-01-01
授权
2020-07-10
预估到期
2029-11-28
| 申请号 | CN201922095679.8 |
| 申请日 | 2019-11-28 |
| 授权公布号 | CN210971731U |
| 授权公告日 | 2020-07-10 |
| 分类号 | B65B35/56;B65B35/50 |
| 分类 | 输送;包装;贮存;搬运薄的或细丝状材料; |
| 申请人名称 | 张家港市易华润东新材料有限公司 |
| 申请人地址 | 江苏省苏州市张家港杨舍镇工业开发区内 |
专利法律状态
2020-07-10
授权
状态信息
授权
摘要
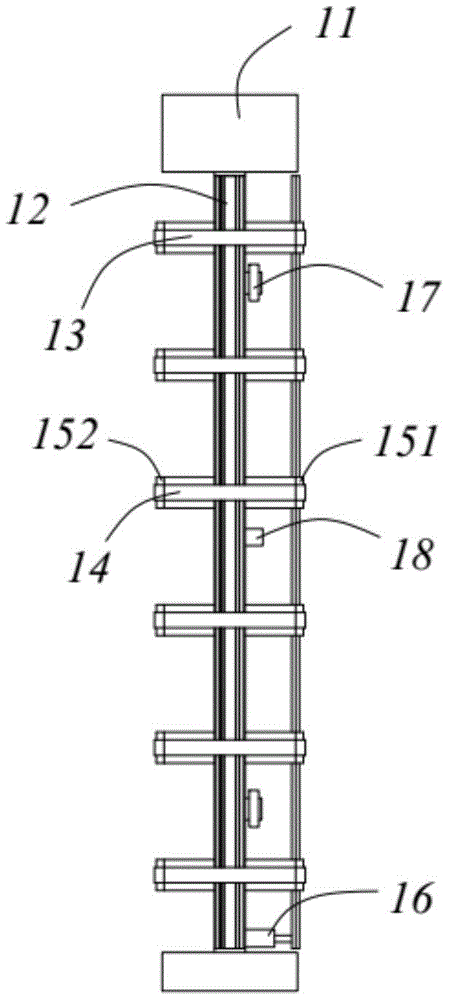
本实用新型涉及一种地板打包用翻转模块,包括翻转机架、位于翻转机架上的翻转轴、设置于翻转机架上用于驱动翻转轴转动的翻转电机、固定并垂直于翻转轴的翻转支架、设置于翻转支架上的翻转滚轮、设置于翻转滚轮上的翻转皮带、驱动翻转滚轮运动的翻转滚轮电机;所述的翻转支架有两排并上下对应设置。通过翻转模块实现了地板的自动翻转,并且根据需要进行选择性发展,在这个过程中实现了全自动化操作,不再需要人工,既提高了生产效率,同时降低了大量的人工成本。


