授权公布号:CN211139804U
地板说明书自动投放设备
有效
申请
2019-11-28
申请公布
1970-01-01
授权
2020-07-31
预估到期
2029-11-28
| 申请号 | CN201922096695.9 |
| 申请日 | 2019-11-28 |
| 授权公布号 | CN211139804U |
| 授权公告日 | 2020-07-31 |
| 分类号 | B65B35/38 |
| 分类 | 输送;包装;贮存;搬运薄的或细丝状材料; |
| 申请人名称 | 张家港市易华润东新材料有限公司 |
| 申请人地址 | 江苏省苏州市张家港杨舍镇工业开发区内 |
专利法律状态
2020-07-31
授权
状态信息
授权
摘要
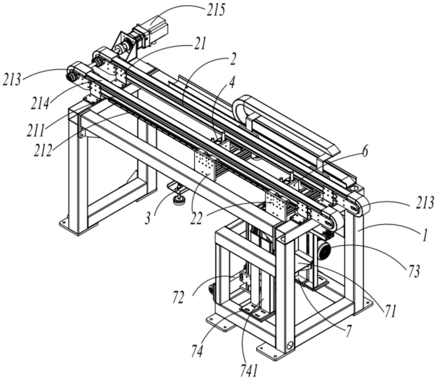
本实用新型涉及一种地板说明书自动投放设备,包括机架、固定于机架上的水平移动模块、地板吸附模块、固定并控制地板吸附模块升降的第一升降模块、说明书吸附模块、固定并控制说明书吸附模块升降的第二升降模块、固定于机架一端的说明书储存模块和控制模块,第一升降模块和第二升降模块均固定到水平移动模块上,控制模块控制水平移动模块的水平运动,控制模块通过第一升降模块实现对地板吸附模块的升降动作,控制模块通过第二升降模块实现对说明书吸附模块的升降动作,控制模块控制地板吸附模块对地板进行吸放操作,控制模块控制说明书吸附模块对说明书进行吸放操作。该设计的地板说明书自动投放设备,降低了人工成本,增加了企业效益。


