授权公布号:CN210459859U
一种复合地板
有效
申请
2019-03-14
申请公布
1970-01-01
授权
2020-05-05
预估到期
2029-03-14
| 申请号 | CN201920319456.2 |
| 申请日 | 2019-03-14 |
| 授权公布号 | CN210459859U |
| 授权公告日 | 2020-05-05 |
| 分类号 | E04F15/02;E04F15/18;B32B21/02;B32B21/04;B32B21/14;B32B21/06;B32B29/06;B32B7/12;B32B33/00 |
| 分类 | 建筑物; |
| 申请人名称 | 德尔未来科技控股集团股份有限公司 |
| 申请人地址 | 江苏省苏州市吴江区七都镇七都大道 |
专利法律状态
2020-05-05
授权
状态信息
授权
摘要
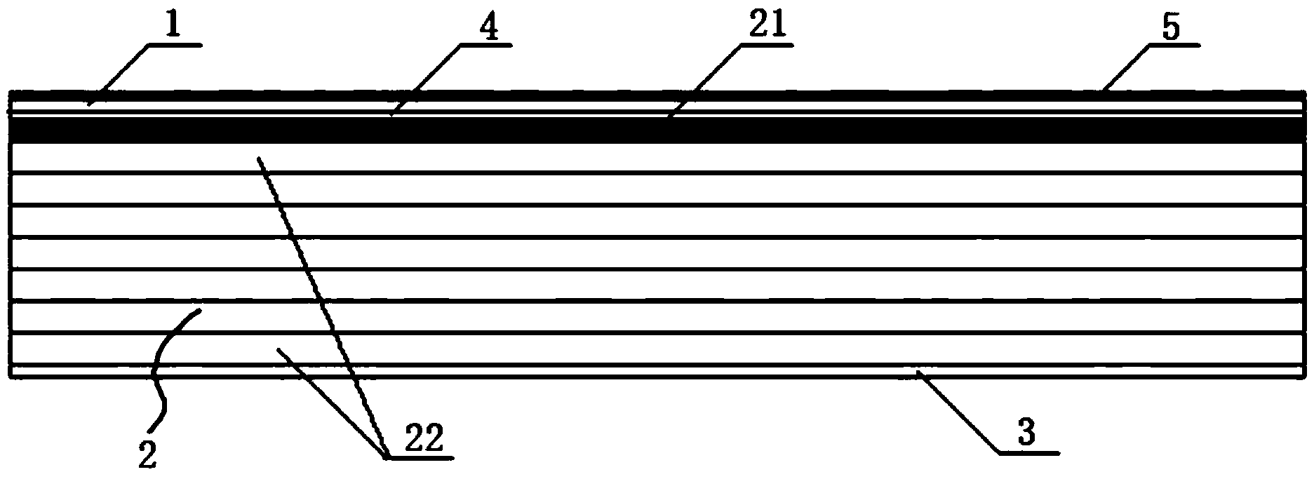
本实用新型提供了一种复合地板,其不仅提高了抗压性能,同时提高了地板的附加值,拓展了使用范围。其厚度截面方向自上而下顺次为面板、基材、底板,其特征在于,所述基材上层包括有厚度为至少1.0mm的高密度纤维板,所述面板的下表面和基材上层的上表面间设置有复合胶层,所述复合胶层具体为三聚氰胺浸渍纸。


