授权公布号:CN111005528B
复合木地板
有效
申请
2019-12-19
申请公布
2020-04-14
授权
2021-06-01
预估到期
2039-12-19
| 申请号 | CN201911314057.8 |
| 申请日 | 2019-12-19 |
| 申请公布号 | CN111005528A |
| 申请公布日 | 2020-04-14 |
| 授权公布号 | CN111005528B |
| 授权公告日 | 2021-06-01 |
| 分类号 | E04F15/04;E04F15/02 |
| 分类 | 建筑物; |
| 申请人名称 | 广东柏高智能家居有限公司 |
| 申请人地址 | 广东省中山市火炬开发区沿江东一路25号10幢 |
专利法律状态
2021-06-01
授权
状态信息
授权
2020-05-08
实质审查的生效
状态信息
实质审查的生效;IPC(主分类):E04F15/04;申请日:20191219
2020-04-14
公布
状态信息
公布
摘要
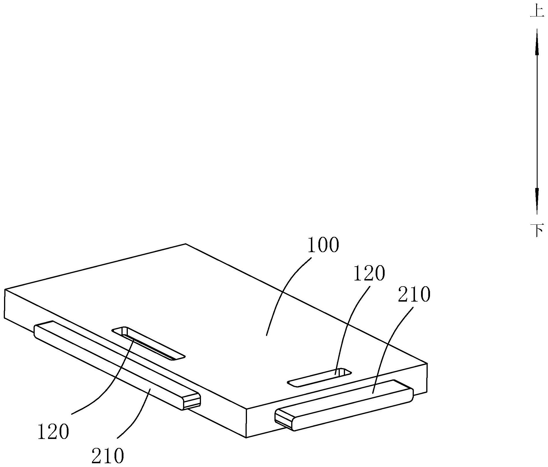
本发明公开了一种复合木地板,包括木地板本体,所述木地板本体的侧面设有容置槽,所述木地板本体顶面设有与容置槽连通的通孔;限位件,所述限位件设有第一斜面;滑块,所述滑块上设有卡榫,所述滑块滑动设置于所述容置槽内,所述滑块设有定位槽,所述限位件能够穿过所述通孔插入所述定位槽内,所述定位槽的侧壁上设有第二斜面,所述第二斜面能够与所述第一斜面滑动配合,所述第二斜面朝向所述卡榫所在方向,所述限位件与所述定位槽配合时,所述卡榫缩入所述容置槽内;复位件,所述复位件设于所述容置槽内,所述复位件能够将所述卡榫伸出所述容置槽。这种木地板能够通过其限位件控制卡榫的伸缩,方便对木地板进行拆卸。


