授权公布号:CN212189672U
木地板的输料机构及喷漆机
有效
申请
2019-12-16
申请公布
1970-01-01
授权
2020-12-22
预估到期
2029-12-16
| 申请号 | CN201922276931.5 |
| 申请日 | 2019-12-16 |
| 授权公布号 | CN212189672U |
| 授权公告日 | 2020-12-22 |
| 分类号 | B05B13/02 |
| 分类 | 一般喷射或雾化;对表面涂覆液体或其他流体的一般方法〔2〕; |
| 申请人名称 | 广东柏高智能家居有限公司 |
| 申请人地址 | 广东省中山市火炬开发区沿江东一路25号10幢 |
专利法律状态
2020-12-22
授权
状态信息
授权
摘要
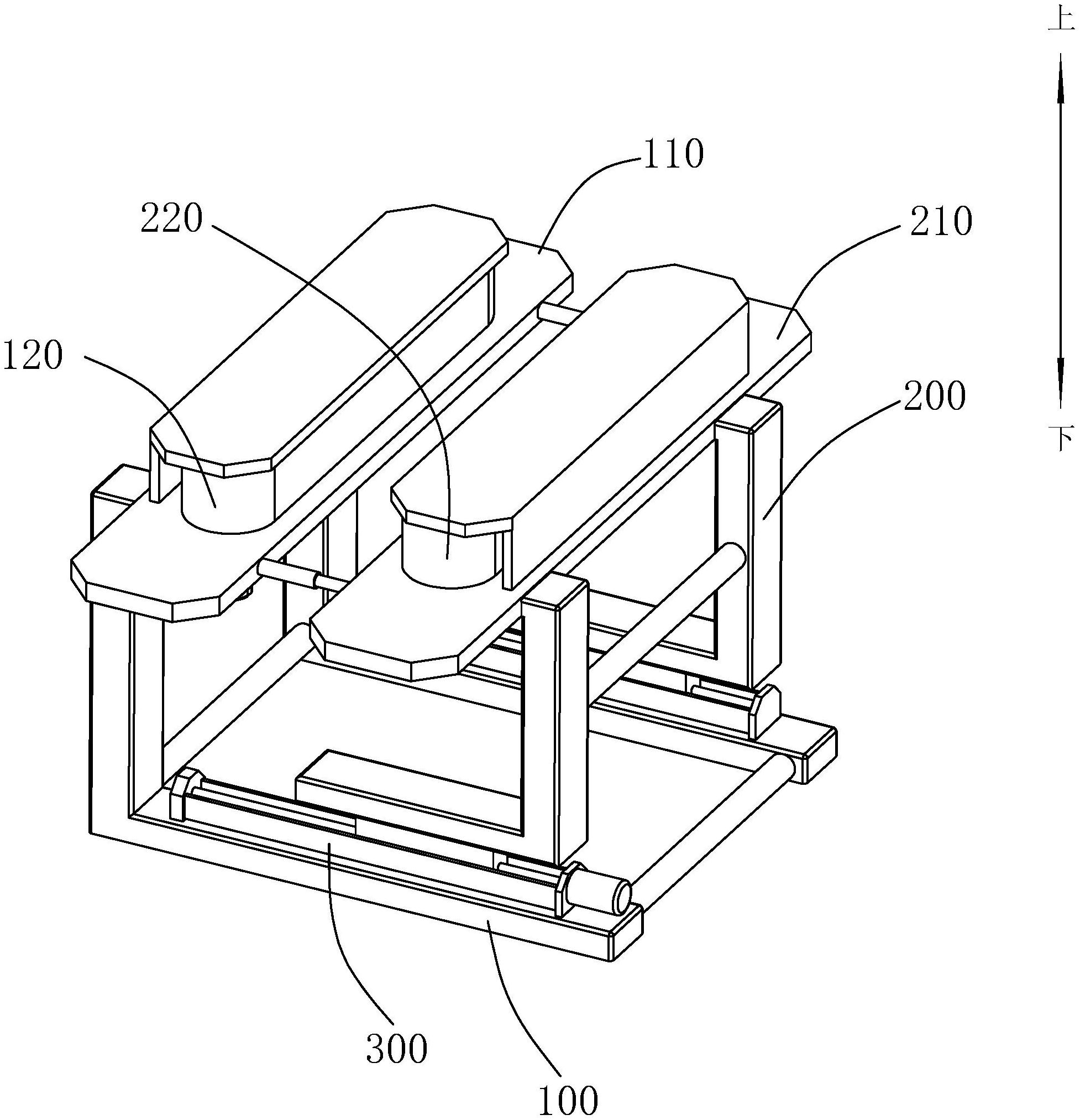
本实用新型公开了一种木地板的输料机构,并公开了具有木地板的输料机构的喷漆机,其中木地板的输料机构包括包括机架,所述机架上设有第一工作台,所述第一工作台上设有第一输送组件;限位架,所述限位架设于所述机架上,所述限位架上设有第二工作台,所述第二工作台上设有第二输送组件;所述木地板架设于所述第一工作台与所述第二工作台之间,所述第一输送组件与所述第二输送组件能够对所述木地板夹持限位,所述第一输送组件和/或所述第二输送组件能够带动所述木地板位移。这种输料机构能够在输料的过程中,同时对木地板的两面进行喷漆,提高木地板的生产效率。


