授权公布号:CN209244161U
一种防火嵌合多功能强化木地板
有效
申请
2018-10-30
申请公布
1970-01-01
授权
2019-08-13
预估到期
2028-10-30
| 申请号 | CN201821775562.3 |
| 申请日 | 2018-10-30 |
| 授权公布号 | CN209244161U |
| 授权公告日 | 2019-08-13 |
| 分类号 | E04F15/02;E04F15/18 |
| 分类 | 建筑物; |
| 申请人名称 | 广东柏高智能家居有限公司 |
| 申请人地址 | 广东省中山市火炬开发区沿江东一路25号10幢 |
专利法律状态
2019-08-13
授权
状态信息
授权
摘要
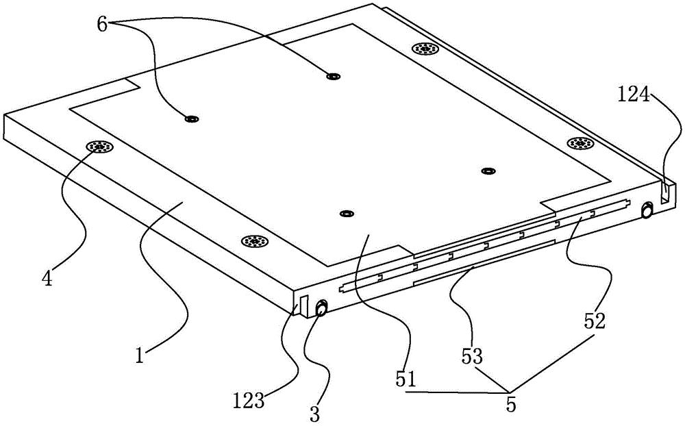
本实用新型公开了一种防火嵌合多功能强化木地板,包括:层板嵌合支撑框架具有两根横向支撑梁和两根纵向支撑梁;该两根横向支撑梁和两根纵向支撑梁围成一框架腔体;该纵向支撑梁的下端设有定位槽和管槽;电磁阀装置固设于定位槽内;输送管道与该电磁阀装置相连通且固设于该管槽内;喷头与该电磁阀装置相连通且设于该纵向支撑梁的上端内;板体设于该框架腔体内;该板体具有面层板、防火芯层板和底层板;该防火芯层板由多块PVC板条拼合形成;温度感应探头设于该面层板内且围绕该面层板四周的位置分布,并与该电磁阀装置电性连接。该防火嵌合多功能强化木地板在发生火灾时,可通过水或阻燃气体进行防火,具有良好防火效果,并且有良好的承重能力。


