授权公布号:CN104742201B
带铺装头的竹帘材人造板组坯自动铺装装置
有效
申请
2015-03-17
申请公布
2015-07-01
授权
2017-01-04
预估到期
2035-03-17
| 申请号 | CN201510115524.X |
| 申请日 | 2015-03-17 |
| 申请公布号 | CN104742201A |
| 申请公布日 | 2015-07-01 |
| 授权公布号 | CN104742201B |
| 授权公告日 | 2017-01-04 |
| 分类号 | B27N3/14;B27D1/04 |
| 分类 | 木材或类似材料的加工或保存;一般钉钉机或钉U形钉机; |
| 申请人名称 | 福建省永安林业(集团)股份有限公司 |
| 申请人地址 | 福建省三明市永安市燕江东路819号 |
专利法律状态
2017-01-04
授权
状态信息
授权
2015-07-29
实质审查的生效
状态信息
实质审查的生效IPC(主分类):B27D 1/04申请日:20150317
2015-07-01
公布
状态信息
公布
摘要
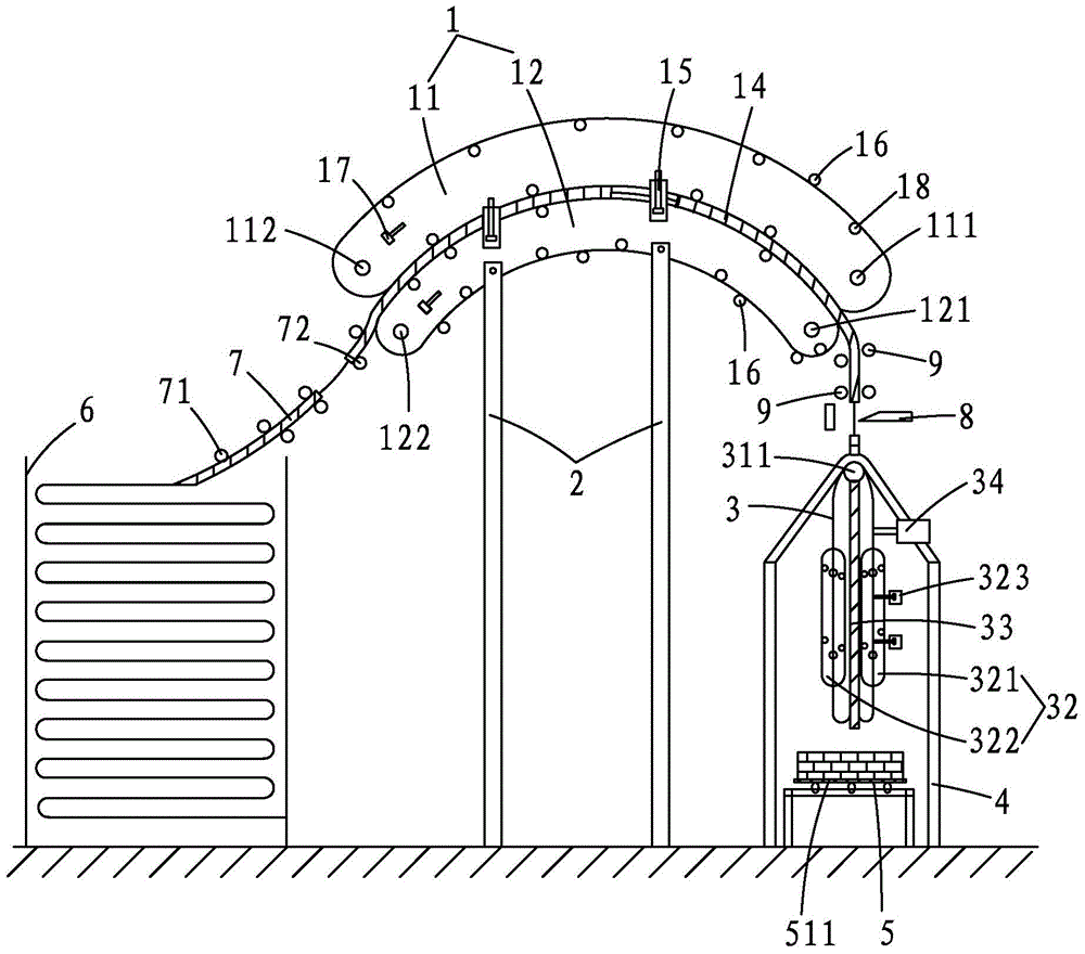
本发明提供一种带铺装头的竹帘材人造板组坯自动铺装装置,包括竹帘铺装头、竹帘取放皮带运输机、第一支架、第二支架、竹帘组坯运输机以及竹帘放置装置,所述竹帘取放皮带运输机架设在所述第一支架上;所述竹帘放置装置位于所述竹帘取放皮带运输机取入端的下方;所述竹帘铺装头吊设在所述第二支架上,该竹帘铺装头位于所述竹帘取放皮带运输机放出端的正下方,且所述竹帘铺装头与所述竹帘取放皮带运输机放出端之间还设有复数个竹帘绳切割刀具;所述竹帘组坯运输机位于所述竹帘铺装头的正下方。本发明具有如下优点:实现了竹帘材人造板组坯的自动铺装生产,减轻了员工的劳动强度,也提高了生产效率和生产质量。


