授权公布号:CN103770192B
木片水洗烟气处理装置
有效
申请
2014-01-21
申请公布
2014-05-07
授权
2015-12-02
预估到期
2034-01-21
| 申请号 | CN201410027364.9 |
| 申请日 | 2014-01-21 |
| 申请公布号 | CN103770192A |
| 申请公布日 | 2014-05-07 |
| 授权公布号 | CN103770192B |
| 授权公告日 | 2015-12-02 |
| 分类号 | B08B3/04;B08B3/10;B01D36/04;B01D47/02;B27N3/18 |
| 分类 | 清洁; |
| 申请人名称 | 福建省永安林业(集团)股份有限公司 |
| 申请人地址 | 福建省三明市永安市燕江东路819号 |
专利法律状态
2015-12-02
授权
状态信息
授权
2014-06-11
实质审查的生效
状态信息
实质审查的生效IPC(主分类):B27N 3/18申请日:20140121
2014-05-07
公布
状态信息
公开
摘要
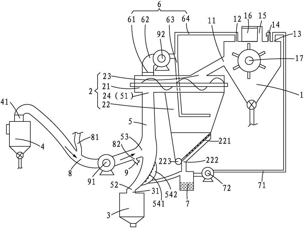
本发明提供一种木片水洗烟气处理装置,包括一水洗机、一螺旋脱水机、一预热器、至少一干燥旋风分离器、一木片沥干甬道、一沥干尾气管路、及一循环水沉淀池;螺旋脱水机包含一螺旋部和一收集槽,收集槽的底部设有一滤水筛、一出水口和一出渣口;水洗机上分别设有一输气口、一循环水入口和一补充水入口;沥干尾气管路包括一沥干尾气出口、一沥干尾气收集管、至少一尾气除尘管;循环水沉淀池通过一循环水管与循环水入口连接,且该循环水管上设有一抽水泵,出水口与该循环水沉淀池连通。本发明不仅解决现有水洗后的木片含水率高的问题,降低热能的消耗;且同时对水洗木片产生的污水、及干燥旋风分离器产生的尾气进行再利用。


