授权公布号:CN103586209B
一种木片处理装置
有效
申请
2013-11-08
申请公布
2014-02-19
授权
2016-03-30
预估到期
2033-11-08
| 申请号 | CN201310552191.8 |
| 申请日 | 2013-11-08 |
| 申请公布号 | CN103586209A |
| 申请公布日 | 2014-02-19 |
| 授权公布号 | CN103586209B |
| 授权公告日 | 2016-03-30 |
| 分类号 | B07B9/00;B27K1/00 |
| 分类 | 将固体从固体中分离;分选; |
| 申请人名称 | 福建省永安林业(集团)股份有限公司 |
| 申请人地址 | 福建省三明市永安市燕江东路819号 |
专利法律状态
2016-03-30
授权
状态信息
授权
2014-03-19
实质审查的生效
状态信息
实质审查的生效IPC(主分类):B07B 9/00申请日:20131108
2014-02-19
公布
状态信息
公开
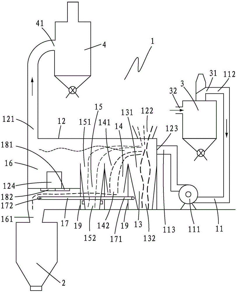
摘要
本发明提供一种木片处理装置,包括一风洗单元、一预热器、一干燥旋风分离器和二级旋风分离器;风洗单元包括一输气管、一风洗机箱、及均位于风洗机箱内的一第一杂质甬道、一木片落料甬道、一第二杂质甬道、一尾气仓、一传送带和一位于尾气仓内左侧底部的木片出料口,传送带的首端位于该木片落料甬道的出口正下方或右下方,传送带的后段上方设有一加湿器,木片出料口位于该传送带的尾端正下方,且该木片出料口与预热器连接。本发明的优点在于:不仅实现资源的再利用、对木片上的各种杂质进行有效的清除、调节木片的含水率,而且还可避免木片预热中出现裂纹或裂痕的现象,从而提高中密度纤维板的品质。


