授权公布号:CN207212157U
一种铝合金门边的斜角组合连接件
有效
申请
2017-09-15
申请公布
1970-01-01
授权
2018-04-10
预估到期
2027-09-15
| 申请号 | CN201721182837.8 |
| 申请日 | 2017-09-15 |
| 授权公布号 | CN207212157U |
| 授权公告日 | 2018-04-10 |
| 分类号 | E06B3/968 |
| 分类 | 一般门、窗、百叶窗或卷辊遮帘;梯子; |
| 申请人名称 | 湖南福湘木业有限责任公司 |
| 申请人地址 | 湖南省岳阳市湘阴县界头铺福湘工业园 |
专利法律状态
2018-04-10
授权
状态信息
授权
摘要
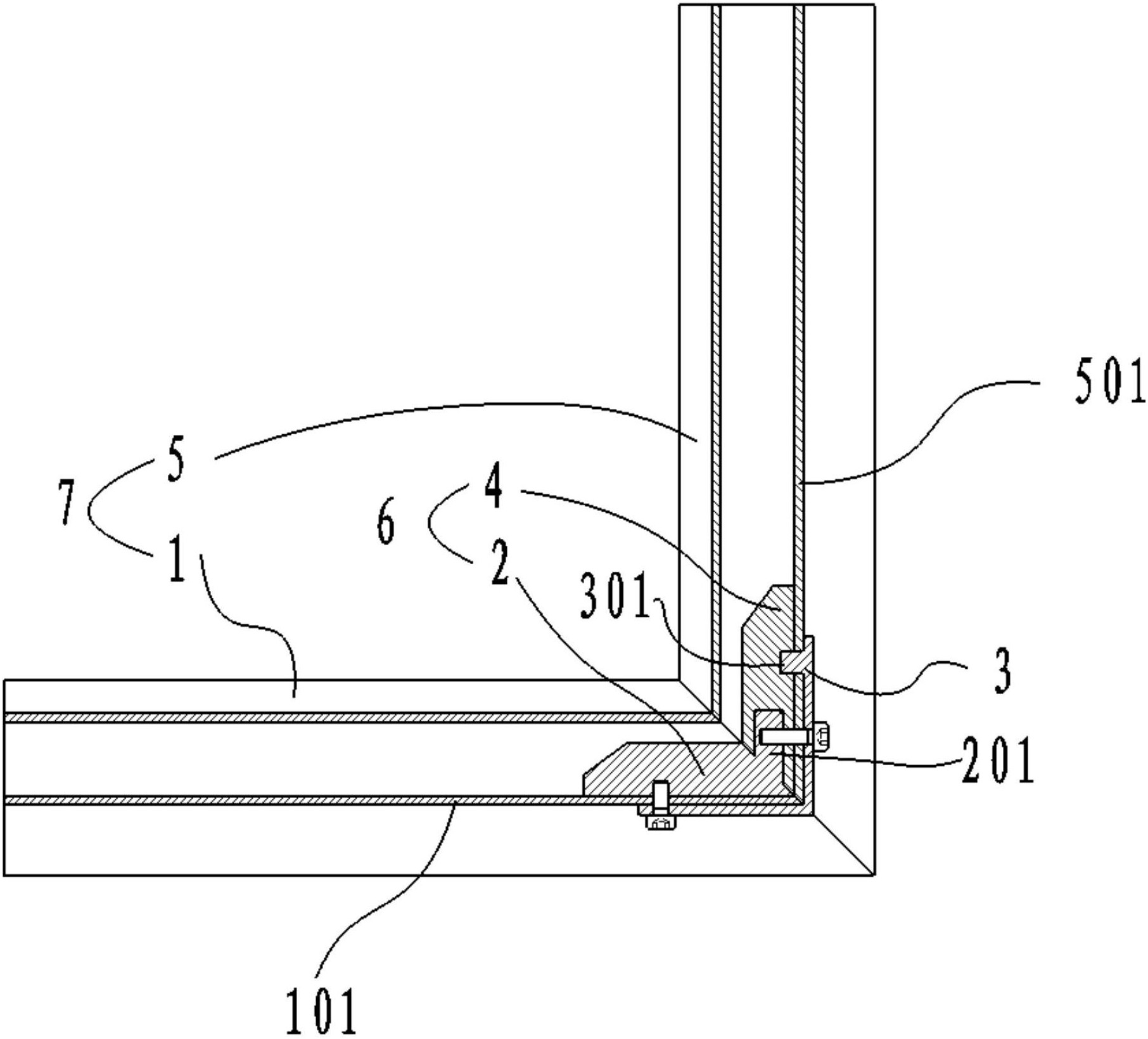
本实用新型公布了一种铝合金门边的斜角组合连接件,包括直角门框,所述直角门框包括横向门边、纵向门边,所述横向门边与纵向门边为连接处互成45度斜角接触的直角设置,还包括直角连接件和直角连接板,所述直角连接件包括横向扣与纵向套,所述横向扣与纵向套成连接处互为45度斜角接触的直角设置,所述横向扣斜角面上设置有第一凸起,所述纵向扣斜角面上设置有与第一凸起相配合的第一凹槽;所述直角门框、直角连接件以及直角连接板通过螺钉相互连接。它结构简单,容易制作,安装与拆卸都很方便,而且牢固可靠。


