授权公布号:CN218683394U
一种地板展架
有效
申请
2022-06-08
申请公布
1970-01-01
授权
2023-03-24
预估到期
2032-06-08
| 申请号 | CN202221456781.1 |
| 申请日 | 2022-06-08 |
| 授权公布号 | CN218683394U |
| 授权公告日 | 2023-03-24 |
| 分类号 | A47F5/10;A47F7/00 |
| 分类 | 家具;家庭用的物品或设备;咖啡磨;香料磨;一般吸尘器; |
| 申请人名称 | 久盛地板有限公司 |
| 申请人地址 | 浙江省湖州市南浔区南浔镇浔练公路3998号 |
专利法律状态
2023-03-24
授权
状态信息
授权
摘要
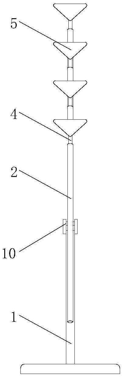
本实用新型公开了一种地板展架,包括立柱(1),立柱(1)上转动连接有展示架,展示架包括多个相互连接的第一支架(2),相邻第一支架(2)之间形成放置槽(3),任意一个或多个第一支架(2)的顶部可拆卸连接有第二支架(4),第二支架(4)上设有安装部(5)。本实用新型能够分别实现对方形地板和长条形地板的展示,并能够根据需要自由调节地板的高度和放置角度,具有功能多样,适用性好的特点。


