授权公布号:CN207874434U
一种具有防竹木爆裂的竹木截断机
有效
申请
2017-11-18
申请公布
1970-01-01
授权
2018-09-18
预估到期
2027-11-18
| 申请号 | CN201721547378.9 |
| 申请日 | 2017-11-18 |
| 授权公布号 | CN207874434U |
| 授权公告日 | 2018-09-18 |
| 分类号 | B27B13/00 |
| 分类 | 木材或类似材料的加工或保存;一般钉钉机或钉U形钉机; |
| 申请人名称 | 江西腾达竹木业有限公司 |
| 申请人地址 | 江西省宜春市铜鼓县温泉镇万家岭 |
专利法律状态
2018-09-18
授权
状态信息
授权
摘要
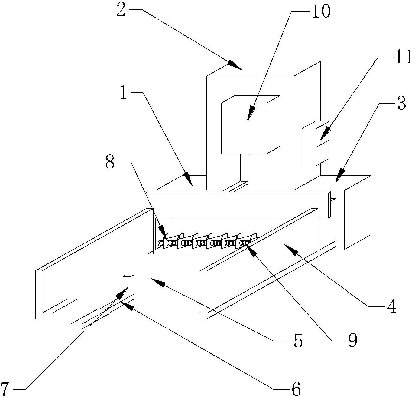
本实用新型公开了一种具有防竹木爆裂的竹木截断机,包括截断机装置主体、机架、外壳和挡板,截断机装置主体的后面顶部固定连接有机架,机架的底部固定连接有外壳,截断机装置主体的前面左侧和右侧对称固定连接有挡板,挡板的中间部位活动连接有第二挡板,第二挡板的前面底部中间部位固定连接有连接杆,外壳的内部固定连接有固定夹。设置有固定夹,传送带将竹木从固定夹的后面推入,使固定夹的夹头张开,固定夹通过弹簧对竹木进行固定夹紧,且由于固定夹的夹头是活动的,所以固定夹可以对各种大小粗细的竹木进行固定,有效的提高了截断机装置主体的实用性,适用于竹木加工的使用,在未来具有广泛的使用前景。


