授权公布号:CN207751229U
一种用于竹木植制品生产用烘烤机
有效
申请
2017-11-28
申请公布
1970-01-01
授权
2018-08-21
预估到期
2027-11-28
| 申请号 | CN201721620009.8 |
| 申请日 | 2017-11-28 |
| 授权公布号 | CN207751229U |
| 授权公告日 | 2018-08-21 |
| 分类号 | F26B9/06;F26B23/00;F26B25/00;B27K9/00 |
| 分类 | 干燥; |
| 申请人名称 | 江西腾达竹木业有限公司 |
| 申请人地址 | 江西省宜春市铜鼓县温泉镇万家岭 |
专利法律状态
2018-08-21
授权
状态信息
授权
摘要
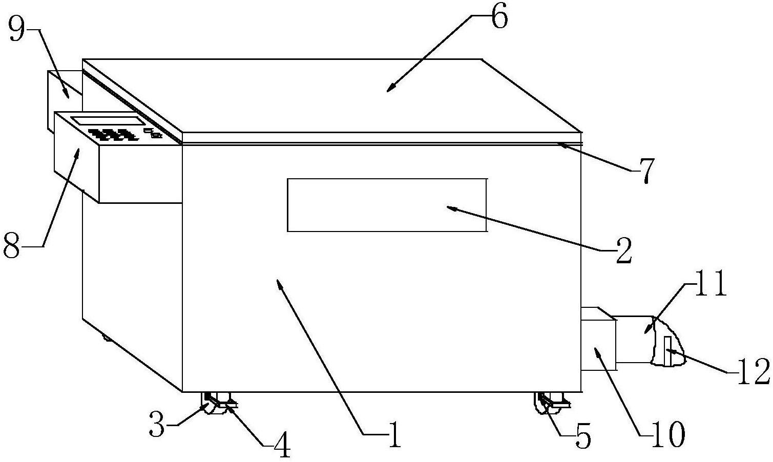
本实用新型公开了一种用于竹木植制品生产用烘烤机,包括烘干箱体和抓手,烘干箱体的正面上方内嵌有观察窗,烘干箱体的底部固定连接有万向轮,万向轮的两侧固定连接有转轴,转轴的外侧活动连接有轮胎固定板,烘干箱体的上方固定连接有橡胶圈,烘干箱体的顶部活动连接有烘干盖,烘干箱体的左侧上方固定连接有控制面板。设置有抓手,抓手为十字形状,且抓手两侧对称设置,通过控制面板伸开抓手,放置竹料后将抓手缩回,可放置粗细程度不一的竹料,当竹料长度不一时,可将伸缩臂伸出,卡住竹料的两侧,且伸缩臂可旋转,使竹料均匀烘焙,提高了抓手的实用性和伸缩臂多功能性,适用于竹木植制品生产用烘烤机的生产和使用,具有良好的发展前景。


