授权公布号:CN214865804U
全钢防静电活动地板用自动贴面除尘机
有效
申请
2021-04-02
申请公布
1970-01-01
授权
2021-11-26
预估到期
2031-04-02
| 申请号 | CN202120680783.8 |
| 申请日 | 2021-04-02 |
| 授权公布号 | CN214865804U |
| 授权公告日 | 2021-11-26 |
| 分类号 | B08B5/04;B08B13/00 |
| 分类 | 清洁; |
| 申请人名称 | 江苏向利防静电装饰材料股份有限公司 |
| 申请人地址 | 江苏省常州市武进区横山桥镇星辰工业园星辰路1号 |
专利法律状态
2021-11-26
授权
状态信息
授权
摘要
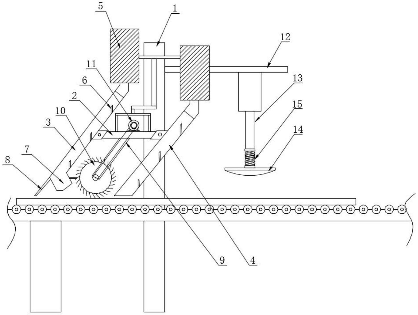
本实用新型公开了一种全钢防静电活动地板用自动贴面除尘机,包括安装有若干传送辊的输送机,所述输送机一侧设置有机架,所述机架一侧设置有除尘机构,所述除尘机构包括横杆,所述横杆一端固定连接有第一吸附管,所述横杆另一端固定连接有第二吸附管,所述第一吸附管和第二吸附管均为倾斜设置,所述第一吸附管和第二吸附管顶端分别接通有吸尘器。本实用新型结构简单,使用方便,通过第二吸附管可以先行将地板表面的灰尘及喷塑粉料吸走,滚轴带动刷毛将喷塑层表面凸出的粉末扫脱离,此时杂质再经第一吸附管吸附,可以有效的对地板表面进行除尘。


