授权公布号:CN210138669U
一种新型反应釜
有效
申请
2019-05-30
申请公布
1970-01-01
授权
2020-03-13
预估到期
2029-05-30
| 申请号 | CN201920809338.X |
| 申请日 | 2019-05-30 |
| 授权公布号 | CN210138669U |
| 授权公告日 | 2020-03-13 |
| 分类号 | B01J19/18;B01J4/00;B01F7/18;B01F15/06;G01N1/02 |
| 分类 | 一般的物理或化学的方法或装置; |
| 申请人名称 | 江门市长河化工实业集团有限公司 |
| 申请人地址 | 广东省江门市新会区三江镇白庙工业区 |
专利法律状态
2020-03-13
授权
状态信息
授权
摘要
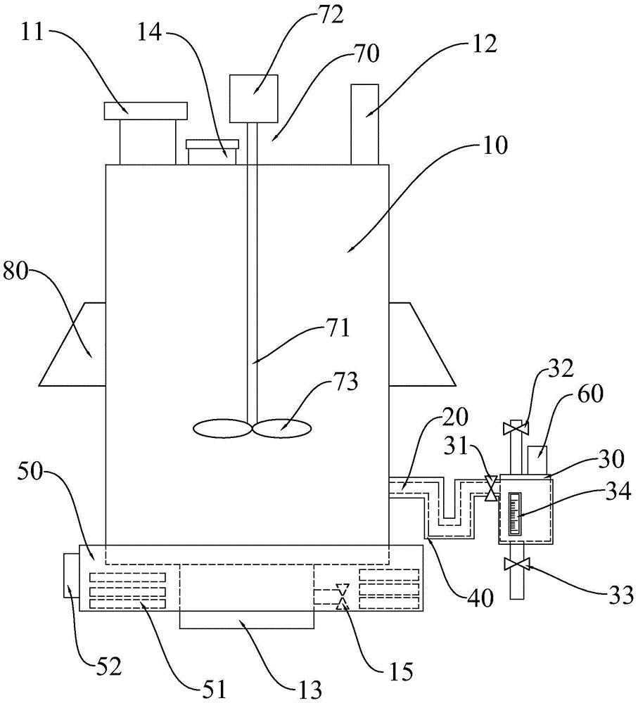
本实用新型公开了一种新型反应釜,包括:反应釜本体、搅拌装置和取样装置,搅拌装置设置在反应釜本体内,取样装置设置在反应釜本体侧壁下部;反应釜本体顶部设置有投料口和真空管,底部设置有带出料阀的出料口;取样装置包括U型取样管,U型取样管上连接有取样罐,两者连接处设置有取样阀,取样罐顶部设置有通气阀,底部设置有放样阀,取样罐上设置有带刻度尺的可视窗,U型取样管和取样罐外均套设有保温套,且在可视窗处有缺口。反应物溢流进入U型取样管和取样罐取样,避免喷气伤人,关闭取样阀后,U型采样管中残留物料,避免泄压,保证生产效率,通过可视窗的刻度尺直观了解采样量,通过套设保温套,避免物料冷却凝固,提高采样效率。


