授权公布号:CN215382602U
一种木塑公园座椅
有效
申请
2021-08-23
申请公布
1970-01-01
授权
2022-01-04
预估到期
2031-08-23
| 申请号 | CN202121984240.1 |
| 申请日 | 2021-08-23 |
| 授权公布号 | CN215382602U |
| 授权公告日 | 2022-01-04 |
| 分类号 | A47C1/00;A47C7/62 |
| 分类 | 家具;家庭用的物品或设备;咖啡磨;香料磨;一般吸尘器; |
| 申请人名称 | 安徽国风木塑科技有限公司 |
| 申请人地址 | 安徽省合肥市包河区包河工业园北京路32号 |
专利法律状态
2022-01-04
授权
状态信息
授权
摘要
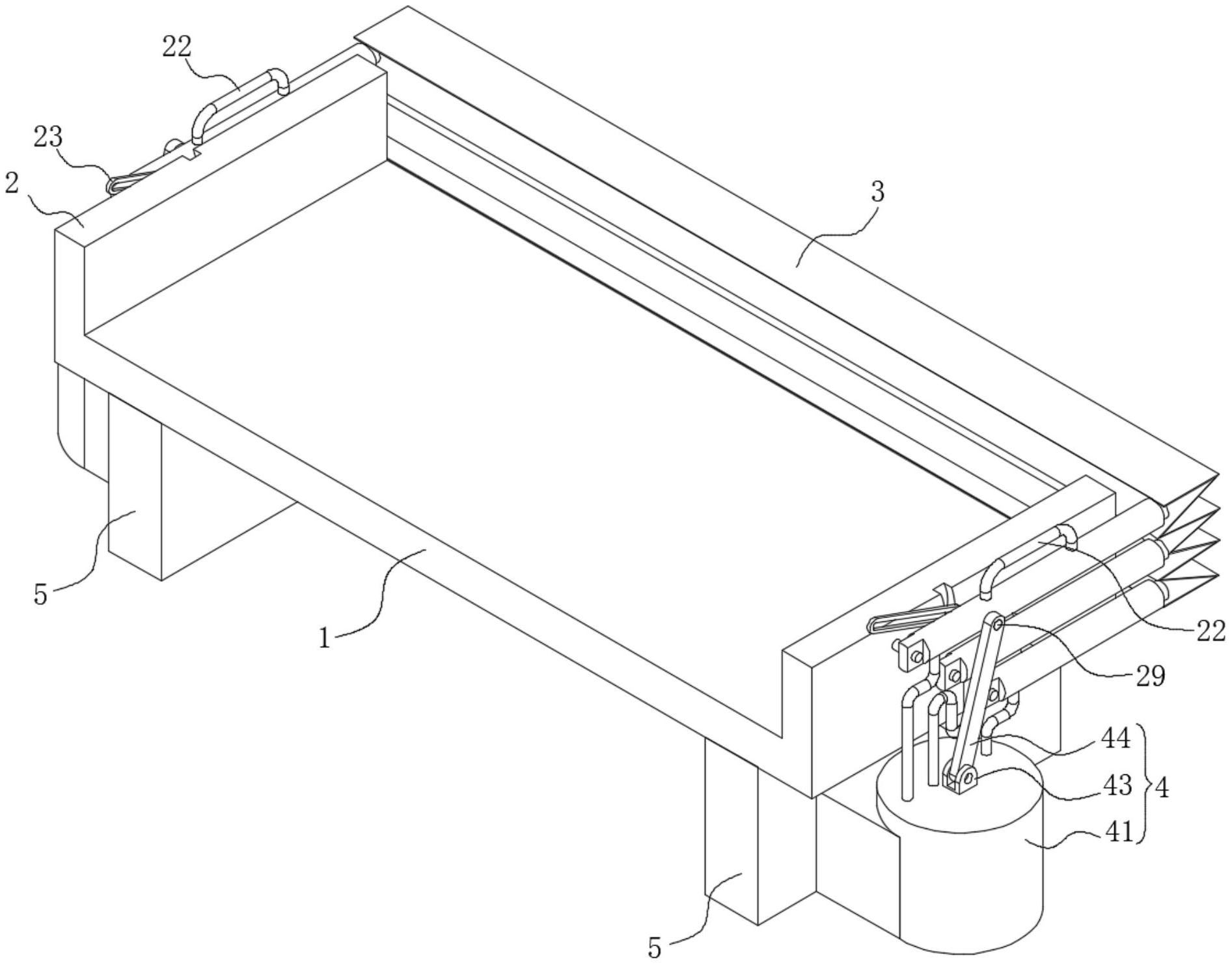
本实用新型提供了一种木塑公园座椅,包括座板,所述座板的两侧分别设置有连接板,两侧所述连接板上分别转动设置有多个支撑杆,所述支撑杆的端部连接有遮阳布,所述连接板上设置有用于限制所述支撑杆转动的限位装置。本实用新型,通过转动设置的多个支撑杆将遮阳布收起或是在座板的上方展开,通过限位装置对支撑杆进行限位,可使遮阳布长时间展开在座板的上方,遮阳布展开和收纳起来较为方便,人门能够根据自己的需要,自由的将遮阳布进行展开和收纳,并且,通过使遮阳布能够快速进行收纳,当风力较大时,能够大大降低遮阳布以及座椅的损伤,延长使用寿命。


