授权公布号:CN218668015U
组装式墙板和预制墙体
有效
申请
2022-09-14
申请公布
1970-01-01
授权
2023-03-21
预估到期
2032-09-14
| 申请号 | CN202222434792.6 |
| 申请日 | 2022-09-14 |
| 授权公布号 | CN218668015U |
| 授权公告日 | 2023-03-21 |
| 分类号 | E04B2/00;E04B1/61;E04B1/38 |
| 分类 | 建筑物; |
| 申请人名称 | 中铁装配式建筑股份有限公司 |
| 申请人地址 | 北京市房山区窦店镇普安路87号 |
专利法律状态
2023-03-21
授权
状态信息
授权
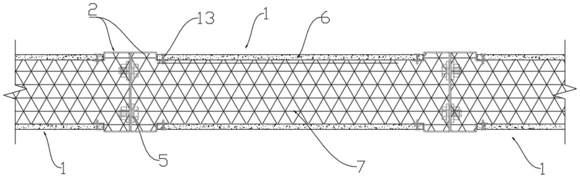
摘要
本实用新型涉及装配式建筑领域,公开了一种组装式墙板和预制墙体,组装式墙板包括:多个同向排列的预制墙板和设置于相邻的两个预制墙板之间的且对称设置的两个可拆卸连接的第一连接装置;其中,第一连接装置包括中间设有腹板的龙骨,两个龙骨的腹板相贴合固定,龙骨远离腹板的一端卡合固定于预制墙板;通过龙骨固定连接预制墙板,再将两个龙骨的腹板从内部固定连接在一起,有效的增强相邻的预制墙板的连接强度,避免运输过程中连接处损坏,可以将多个预制墙板合理分配连接成为组装式墙板后再运往施工现场,有效节省施工工序,缩短施工时间。


