授权公布号:CN113021837B
一种具有共挤增强材料的实心发泡板挤出模具
有效
申请
2021-03-25
申请公布
2021-06-25
授权
2023-03-03
预估到期
2041-03-25
| 申请号 | CN202110317144.X |
| 申请日 | 2021-03-25 |
| 申请公布号 | CN113021837A |
| 申请公布日 | 2021-06-25 |
| 授权公布号 | CN113021837B |
| 授权公告日 | 2023-03-03 |
| 分类号 | B29C48/30;B29L31/10N |
| 分类 | 塑料的加工;一般处于塑性状态物质的加工; |
| 申请人名称 | 安徽森泰木塑集团股份有限公司 |
| 申请人地址 | 安徽省宣城市广德县广德经济开发区国华路 |
专利法律状态
2023-08-01
专利实施许可合同备案的生效、变更及注销
状态信息
专利实施许可合同备案的生效;IPC(主分类):B29C 48/30;专利申请号:202110317144X;专利号:ZL202110317144X;合同备案号:X2023990000706;让与人:安徽森泰木塑集团股份有限公司;受让人:耐特香港有限公司;发明名称:一种具有共挤增强材料的实心发泡板挤出模具;申请日:20210325;申请公布日:20210625;授权公告日:20230303;许可种类:普通许可;备案日期:20230711
2023-03-03
授权
状态信息
授权
2021-07-13
实质审查的生效
状态信息
实质审查的生效;IPC(主分类):B29C48/30;申请日:20210325
2021-06-25
公布
状态信息
公布
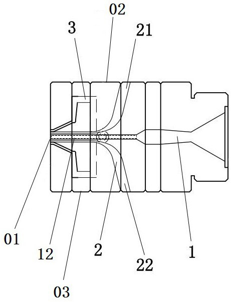
摘要
本发明提供了一种具有共挤增强材料的实心发泡板的挤出模具,模具由包含模具进料板、流道形成板、模具出料板在内的多个模具板对接而成;所述模具设有主流道、增强材料通道和共挤流道,所述的主流道、增强材料通道和共挤流道在模具内彼此独立;主流道沿模具的轴线方向贯通设置;增强材料通道包括分布于主流道两侧的第一通道和第二通道,并在模具出料板形成位于主流道出料口两侧的两个出料口;共挤流道在模具出料板形成表层出料口,表层出料口为矩形环结构并套设在所述的主流道出料口周围,并且增强材料通道的两个出料口设置在主流道出料口与表层出料口之间。本发明通过具有三种独立流道或通道的模具进行生产,降低了生产中的故障率。


