授权公布号:CN214214756U
一种石英板加工装置
有效
申请
2020-12-07
申请公布
1970-01-01
授权
2021-09-17
预估到期
2030-12-07
| 申请号 | CN202022890984.9 |
| 申请日 | 2020-12-07 |
| 授权公布号 | CN214214756U |
| 授权公告日 | 2021-09-17 |
| 分类号 | B29C63/02;B29C63/00;B08B5/02;B08B15/04;B26D1/08;B26D5/08;B26D7/18 |
| 分类 | 塑料的加工;一般处于塑性状态物质的加工; |
| 申请人名称 | 广东中迅新型材料有限公司 |
| 申请人地址 | 广东省江门市鹤山市龙口镇凤沙工业区凤沙大道2号之一 |
专利法律状态
2021-09-17
授权
状态信息
授权
摘要
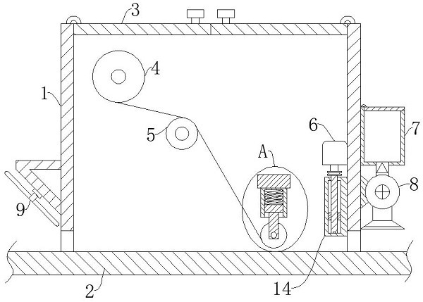
本实用新型公开了一种石英板加工装置,属于加工装置技术领域。一种石英板加工装置,包括透明固定罩、传送机构,所述透明固定罩固定连接在传送机构上,所述透明固定罩内按传送机构传送的方向依次连接有放膜辊、导辊、压紧辊、切膜机构,本实用新型通过吹尘机的设置,将石英石板表面的碎屑等杂质吹走,防止在对石英石板进行覆膜时,将碎屑石等杂质一同覆盖在石英石板的表面,影响石英石板的美观性,有效的提高了该装置的实用性,通过废料收集机构的设置,可以对废料对进行回收再利用,有效的降低了资源的浪费。


