授权公布号:CN218286210U
一种石材生产切割用废料回收机构
有效
申请
2022-09-09
申请公布
1970-01-01
授权
2023-01-13
预估到期
2032-09-09
| 申请号 | CN202222409062.0 |
| 申请日 | 2022-09-09 |
| 授权公布号 | CN218286210U |
| 授权公告日 | 2023-01-13 |
| 分类号 | B28D1/24;B28D7/02;B28D7/04 |
| 分类 | 加工水泥、黏土或石料; |
| 申请人名称 | 福建鹏翔实业有限公司 |
| 申请人地址 | 福建省泉州市南安市滨海工业项目区 |
专利法律状态
2023-01-13
授权
状态信息
授权
摘要
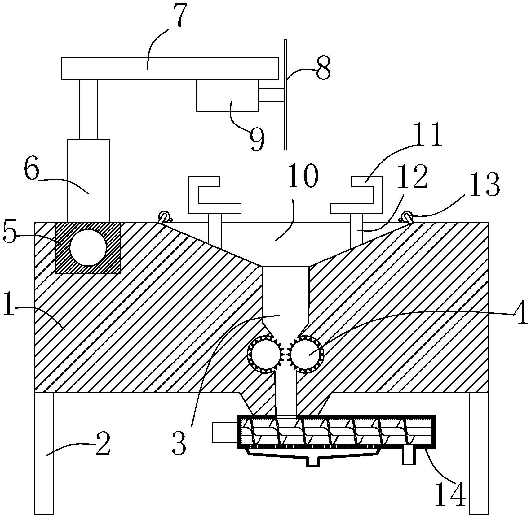
本实用新型提出一种石材生产切割用废料回收机构,包括机架、切割装置、夹紧装置和绞龙,机架上自前向后滑动设置有滑座,所述滑座上固定安装有升降气缸,所述升降气缸的端部固定安装有支板,所述切割装置固定安装在支板上,机架上位于切割装置的正下方设置有收集槽,收集槽的底部连通有废料通道,收集槽内且位于废料通道的两侧对称设置有夹座,所述绞龙固定安装在废料通道底部,所述切割装置具体包括电机和切割盘,所述电机固定安装在支板的端部,切割盘固定安装在电机传动轴上,所述收集槽呈上大下小的倒四棱台形槽体,两个夹座通过竖杆与收集槽的槽底固定连接,夹座采用现有的横截面呈U型的座体,两个夹座的开口侧相对设置。


