授权公布号:CN217861621U
人造石切割机的粉尘吸收装置
有效
申请
2022-07-20
申请公布
1970-01-01
授权
2022-11-22
预估到期
2032-07-20
| 申请号 | CN202221885535.8 |
| 申请日 | 2022-07-20 |
| 授权公布号 | CN217861621U |
| 授权公告日 | 2022-11-22 |
| 分类号 | B26D7/18;B03C3/04 |
| 分类 | 手动切割工具;切割;切断; |
| 申请人名称 | 福建鹏翔实业有限公司 |
| 申请人地址 | 福建省泉州市南安市滨海工业项目区 |
专利法律状态
2022-11-22
授权
状态信息
授权
摘要
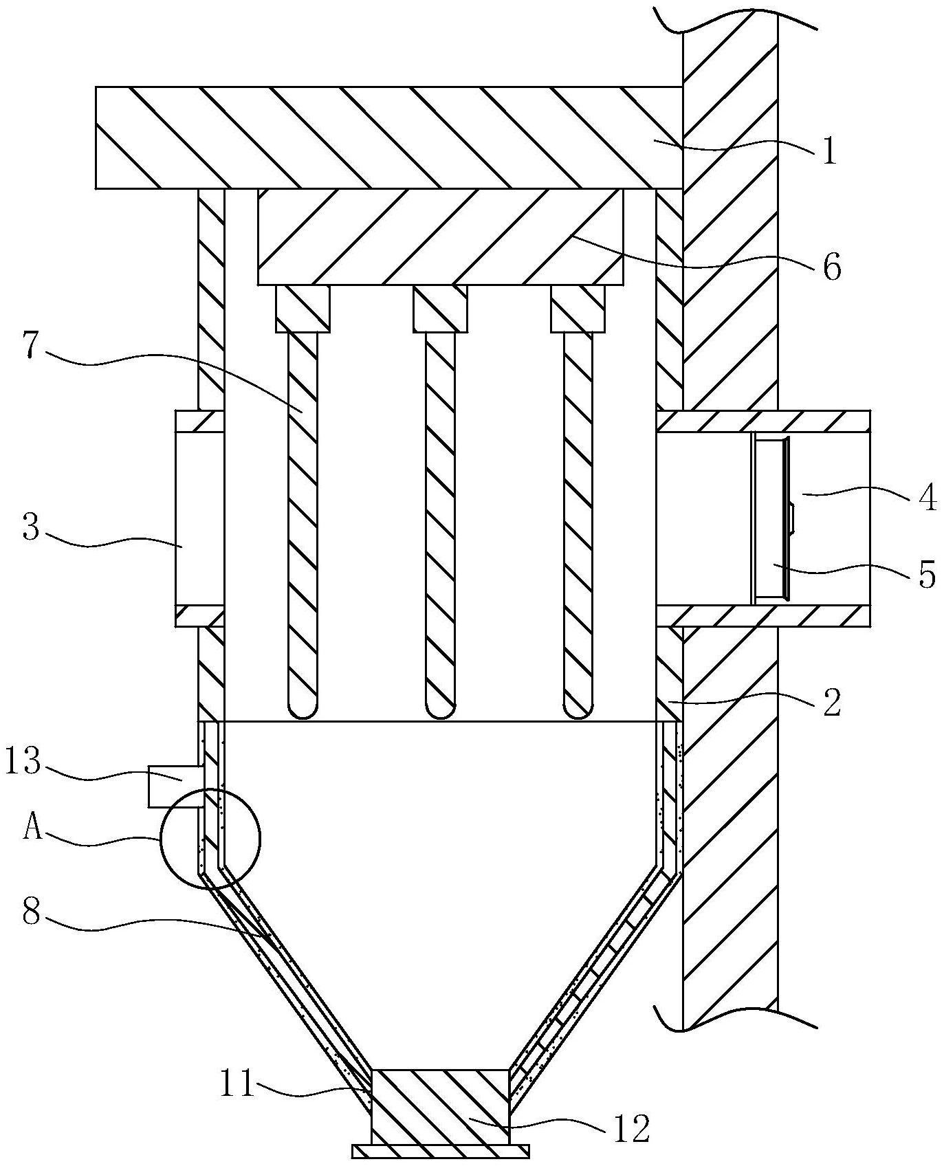
本实用新型提供人造石切割机的粉尘吸收装置,包括用于连接于外部墙体上的安装板、设置于所述安装板上的壳体、开设于所述壳体上用于带有人造石粉尘的空气进入所述壳体的进口、连通设置于所述壳体上且穿过外部墙体的出管,当切割机在室内对人造石进行切割时,风机将切割过程中带有人造石粉尘的空气从进口引导至出管的出口,在带有人造石粉尘的空气进入壳体时静电感应起电机通电产生静电,使得若干个吸附杆对人造石粉尘进行吸附,并在静电感应起电机未产生静电时不在对人造石粉尘进行吸附,通过收集壳对脱离所述吸附杆的人造石粉尘进行收集,在收集后通过排出装置将收集于收集壳内的人造石粉尘排出,从而不会导致粉尘排出室外造成外部空气污染。


