授权公布号:CN220363101U
一种复合板材压合装置
有效
申请
2023-07-08
申请公布
1970-01-01
授权
2024-01-19
预估到期
2033-07-08
| 申请号 | CN202321782488.9 |
| 申请日 | 2023-07-08 |
| 授权公布号 | CN220363101U |
| 授权公告日 | 2024-01-19 |
| 分类号 | B32B37/10;B32B37/00;B32B37/12;B32B38/18 |
| 分类 | 层状产品; |
| 申请人名称 | 江苏德鲁尼木业有限公司 |
| 申请人地址 | 江苏省徐州市邳州市官湖镇平果路6号 |
专利法律状态
2024-01-19
授权
状态信息
授权
摘要
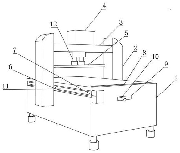
本实用新型公开了一种复合板材压合装置,涉及复合板材机械加工技术领域,包括压合机主体,所述压合机主体的左右两侧开设有滑槽一,所述滑槽一的内部活动安装有支撑柱,所述支撑柱的一侧上端固定安装有横杆,所述横杆的顶部固定安装有液压机,所述液压机的底部固定安装有阻尼器,所述阻尼器的底部固定安装有压板,所述阻尼器包括有液压杆、液压缸、气密垫,所述气密垫的内部开设有气孔,所述液压缸内部填充有液压油,本实用新型通过采用弹簧、液压杆、液压缸、气密垫、气孔、液压油的配合,使其液压机向下对板材进行压合时起到一个阻尼的效果,使液压机缓慢匀速下降运动压合板材从而使板材成型后减少气泡的产生。


